EasyManua.ls Logo

Canon CLC5000 - Page 259

Canon CLC5000
757 pages
Print Icon
To Next Page IconTo Next Page
To Next Page IconTo Next Page
To Previous Page IconTo Previous Page
To Previous Page IconTo Previous Page
Loading...
2-220
COPYRIGHT
©
2001 CANON INC. 2000 2000 2000 2000 CANON CLC5000 REV.0 JAN. 2001
CHAPTER 2 NEW FUNCTIONS
M1
M3
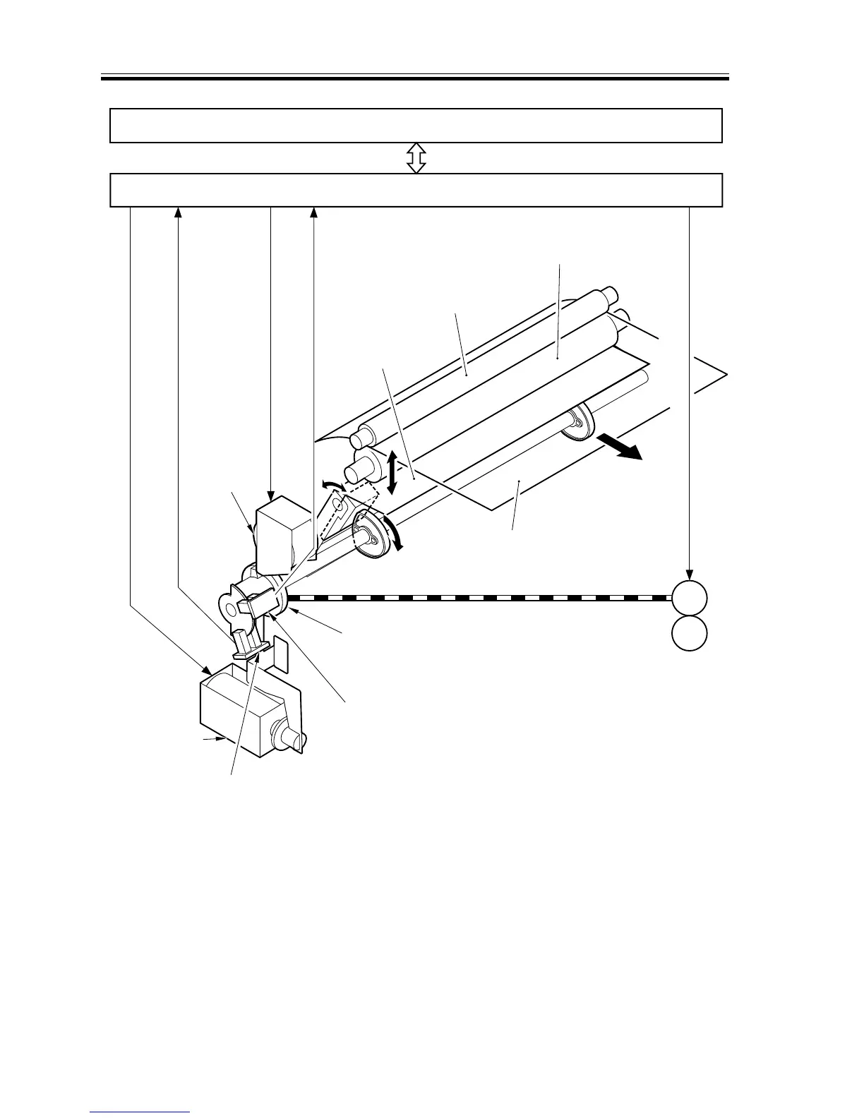
Buffer pass unit driver PCB
Copier
Curl removing roller
Pressure roller
Pressure roller base
Paper
Downward
curl removing
solenoid 2
(SL4)
Downward curl
removing
solenoid 1
(SL3)
Lower phase
sensor 2
(PS7)
Spring clutch
Lower phase
sensor 1 (PS6)
Buffer pass
motor
Curl removing solenid drive signal 2 (LDCRSL2*)
Phase sensor signal 2 (LCUPH2)
Curl removing solenoid
drive signal 1 (LDCRSL1*)
Phase sensor signal 1 (LCUPH1)
Buffer pass motor drive signal
F02-904-02

Table of Contents

Related product manuals