EasyManua.ls Logo

Hitachi H8/500 Series - Interrupt Sequence (Minimum Mode, On-Chip Memory)

Hitachi H8/500 Series
459 pages
To Next Page IconTo Next Page
To Next Page IconTo Next Page
To Previous Page IconTo Previous Page
To Previous Page IconTo Previous Page
Loading...
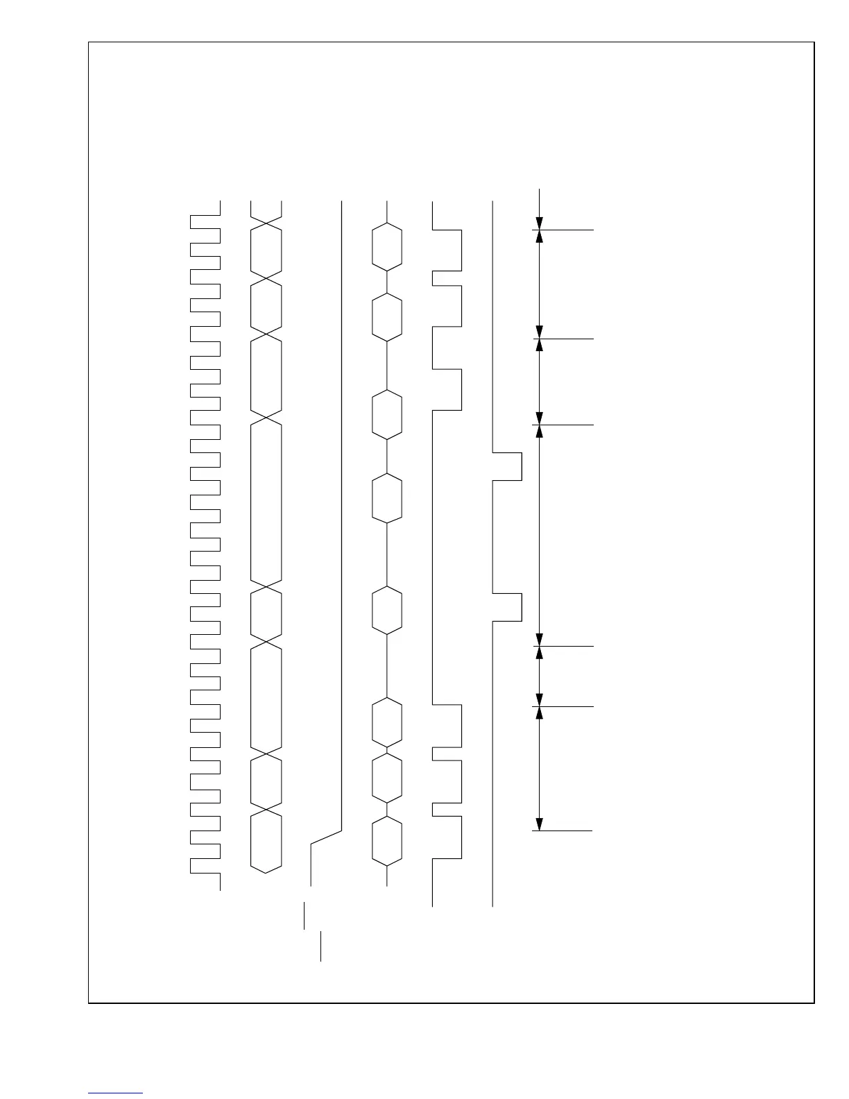
(3)
Vector
address
SP - 4
SP - 2
(4)VectorSRPC(2)(2)(2)
(1)(1)(1)
NMI, IRQ0
IRQ1
ø
Interrupt
address
bus
Interrupt
data
bus (16 bits)
Interrupt
reset
signal
Interrupt
write
signal
Priority level
decision and wait
for end of
current instruction
Stack accessInternal
process-
ing cycle
Prefetch first
instruction of
interrupt-
handling routine
Start instruction
execution
Interrupt
accepted
(1) Instruction prefetch address (2) Instruction code (3) Starting address of interrupt-handling routine (4) First instruction of interrupt-handling routine
Note: This timing chart applies to the minimum mode when the program and stack areas are both in on-chip memory and the interrupt-handling routine starts
at an even address.
Figure 5-4 Interrupt Sequence (Minimum Mode, On-Chip Memory)
109
Downloaded from Elcodis.com electronic components distributor

Table of Contents

Related product manuals