EasyManua.ls Logo

Kollmorgen AKD series

Kollmorgen AKD series
216 pages
To Next Page IconTo Next Page
To Next Page IconTo Next Page
To Previous Page IconTo Previous Page
To Previous Page IconTo Previous Page
Loading...
AKD Installation | 9 Electrical Installation
9.10 Motor Power Connection (X2)
Together with the motor supply cable and motor winding, the power output of the drive forms
an oscillating circuit. Characteristics such as cable capacity, cable length, motor inductance,
and frequency ( # 37) or ( # 38) determine the maximum voltage in the system.
The AKD drive is able to protect the connected motor from overloading, if the parameters are
set correctly and the thermal protection sensor is connected and supervised. With Koll-
morgen motors the valid data are automatically set by the internal motor database. With
motors from other manufacturers the data from the nameplate must be entered to the referring
fields in the motor view of the Kollmorgen setup software WorkBench.
The dynamic voltage rise can lead to a reduction in the motor operating life and, on unsuit-
able motors, to flashovers in the motor winding.
Only install motors with insulation class F (acc. to IEC60085) or above.
Only install cables that meet the requirements ( # 42).
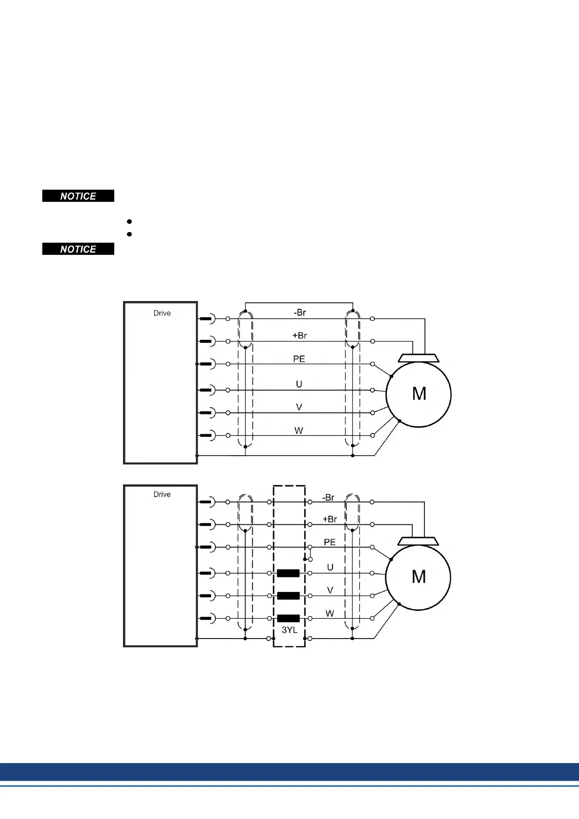
With long motor cables leakage currents endanger the output stage of the drive. For cable
lengths from 25 m to 50 m, a motor choke (3YL) must be wired into the motor cable (near the
drive). Refer to your regional Accessories Manual for Kollmorgen chokes.
Cable length 25 m
Cable length >25 m
116 Kollmorgen | kdn.kollmorgen.com | October 2017

Table of Contents

Other manuals for Kollmorgen AKD series

Related product manuals