EasyManua.ls Logo

Maeda MC285C-3 - Page 61

Maeda MC285C-3
314 pages
Print Icon
To Next Page IconTo Next Page
To Next Page IconTo Next Page
To Previous Page IconTo Previous Page
To Previous Page IconTo Previous Page
Loading...
M A E D A Mini-Crawler Crane Section 3 RATED TOTAL LOAD CHARTS
1/2019 MC285C-3 3-15
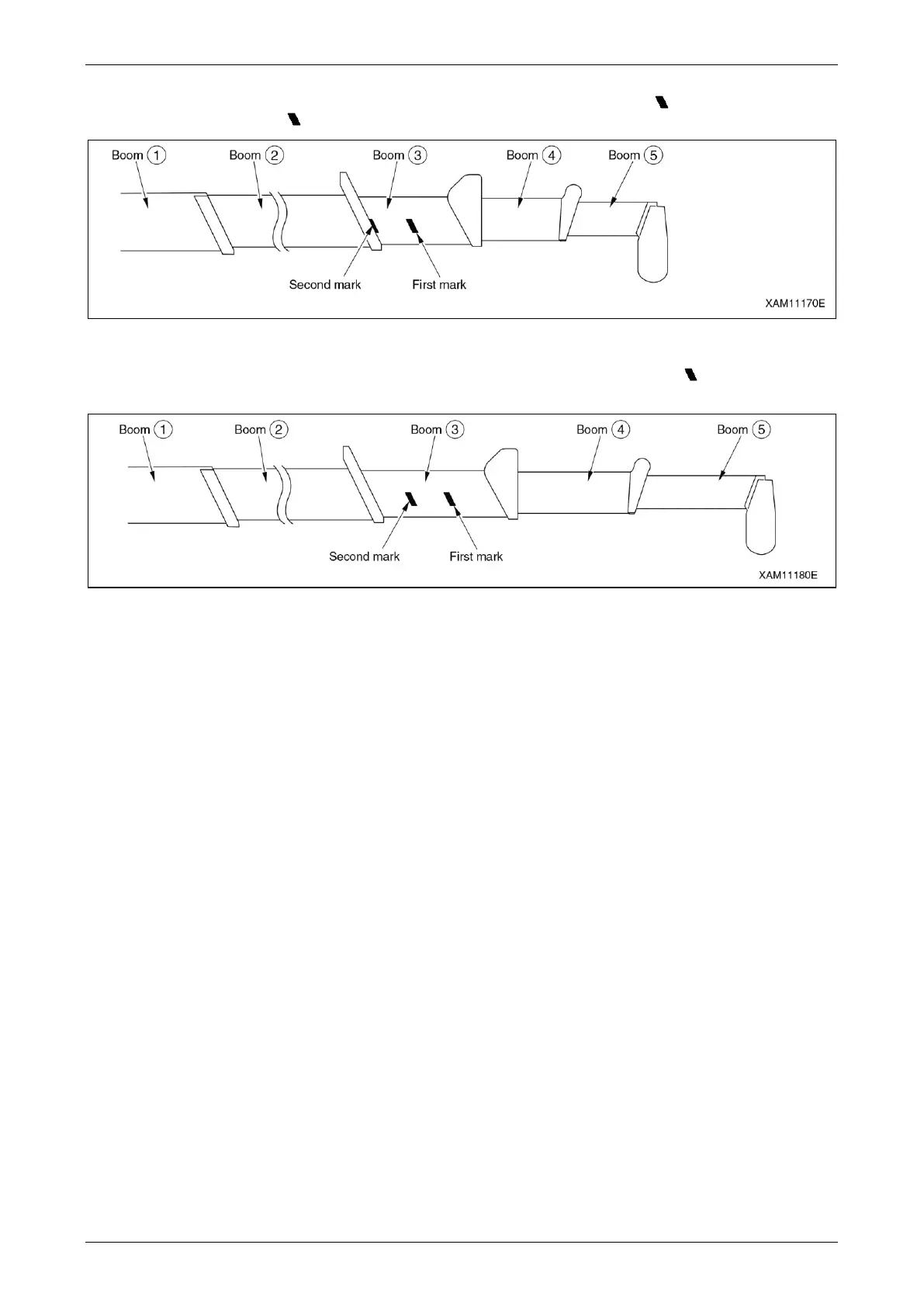
4) 5.580-7.075 m Boom: When boom begins to extend past the first mark until the boom extends
until the second mark is visible at the end of boom .
Fig. 3-17
5) 7.080-8.575 m Boom: When boom begins to extend past the second mark until booms +
+ + + are fully extended.
Fig. 3-18

Table of Contents

Other manuals for Maeda MC285C-3

Related product manuals