EasyManua.ls Logo

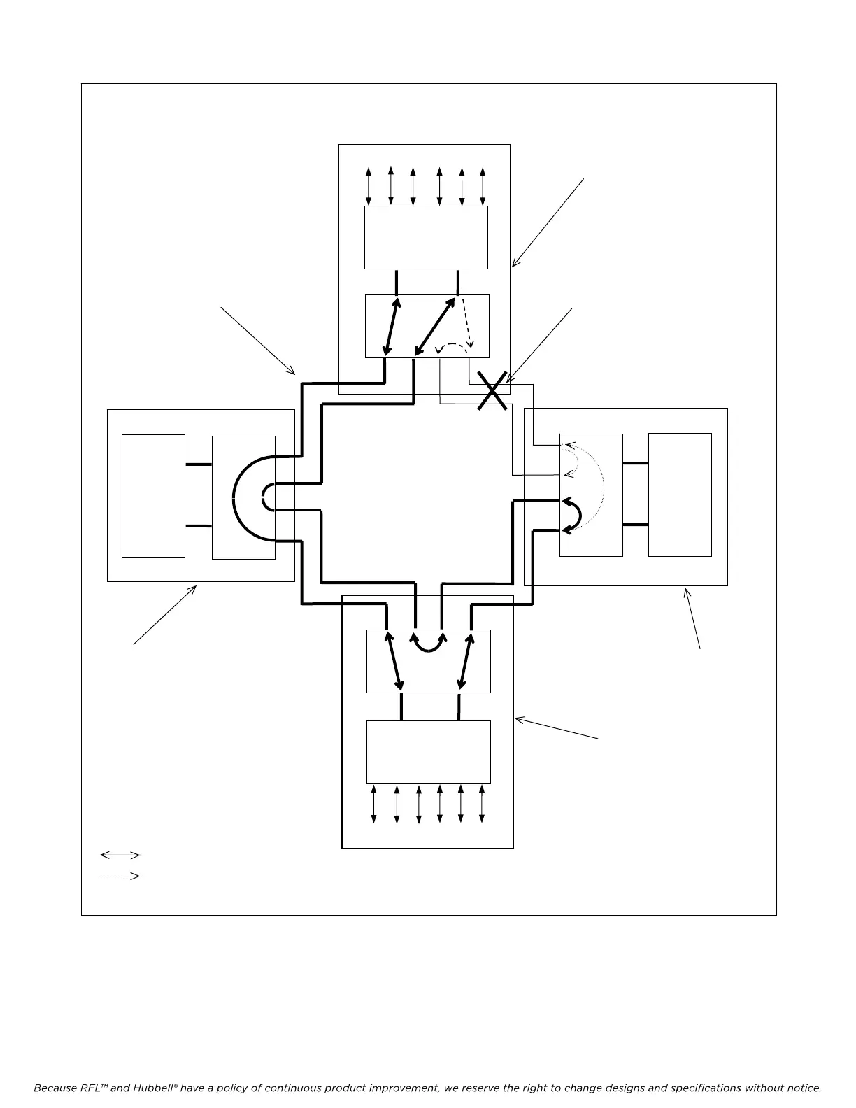
RFL Electronics IMUX 2000 - Figure 2-11. M-DACS Fiber Ring Configuration after a Failure (Sample Configuration)

Default Icon
982 pages
Print Icon
To Next Page IconTo Next Page
To Next Page IconTo Next Page
To Previous Page IconTo Previous Page
To Previous Page IconTo Previous Page
Loading...
Because RFL and Hubbell® have a policy of continuous product improvement, we reserve the right to change designs and specications without notice.
DROP/INSERT
MULTIPLEXER
4
2 3 1
M-DACS B
4
2
3
1
6
5
1
3
2
4
56
M-DACS C
M-DACS D
5
6
1
3
2
4
” represents a break in any
one of the primary path fiber
optic cables. Only the maps for
M-DACS A and M-DACS B are
effected. The DACS Map Select
Criteria which was programmed
by the user causes M-DACS A
to switch to map 1 and M-DACS
B to switch to map 4.
Each line represents 2 fiber optic
cables, one for transmit and one
for receive.
When a break occurs as shown,
M-DACS D stays in map 0
since it has no knowledge of the
break. Refer to M-DACS D,
Map 0 (Table 1-6)
When a break occurs as
shown, M-DACS C stays in
map 0 since it has no
knowledge of the break
.
Refer to M-DACS C, Map 0
(Table 1-5)
= bi-directional communication
= mono-directional
Refer to M-DACS A,
Map 1 (Table 1-2)
Refer to M-DACS B,
Map 4 (Table 1-4)
CH1
CH2
CH3
CH4
CH5 CH6
7
8
7
8
78
7 8
CH1 CH2 CH3 CH4 CH5 CH6
DROP/INSERT
MULTIPLEXER
5
6
M-DACS A
DROP/
INSERT
MULTI-
PLEXER
DROP/
INSERT
MULTI-
PLEXER
4 Fiber Ring
Figure 2-11. M-DACS fiber ring configuration after a failure (sample configuration)
M-DACS-T1 RFL Electronics Inc.
October 16, 2012 2-15 (973) 334-3100

Table of Contents