EasyManua.ls Logo

Agilent Technologies E4438C - Page 179

Agilent Technologies E4438C
700 pages
Print Icon
To Next Page IconTo Next Page
To Next Page IconTo Next Page
To Previous Page IconTo Previous Page
To Previous Page IconTo Previous Page
Loading...
Chapter 4 155
Basic Digital Operation
Using Waveform Clipping
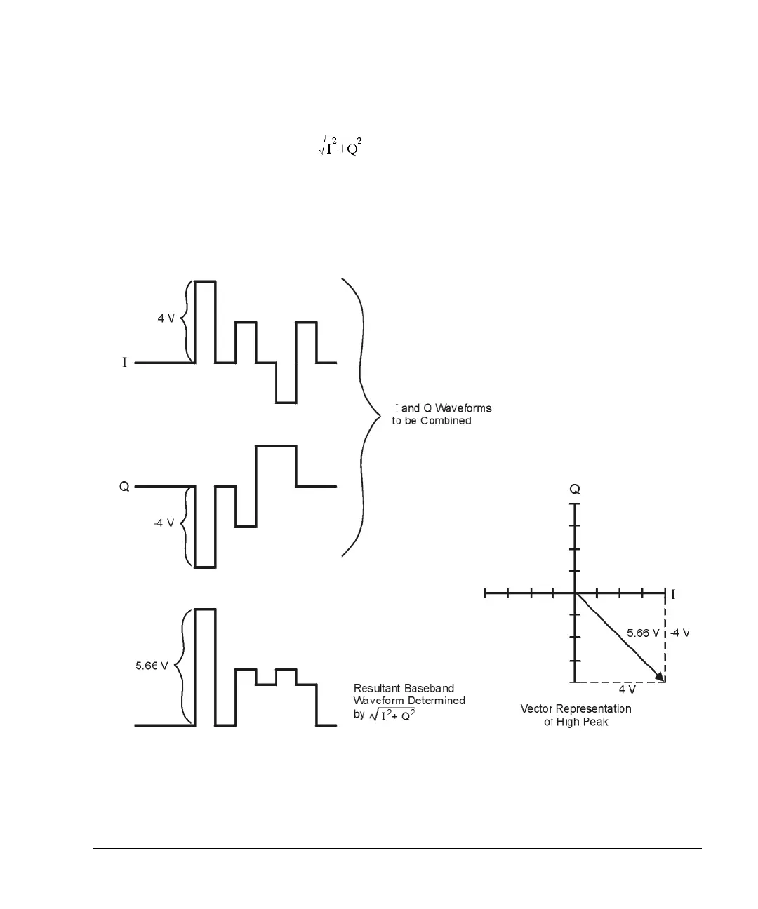
The I and Q waveforms combine in the I/Q modulator to create an RF waveform. The magnitude of the RF
envelope is determined by the equation , where the squaring of I and Q always results in a positive
value.
As shown in Figure 4-18, simultaneous positive and negative peaks in the I and Q waveforms do not cancel
each other, but combine to create an even greater peak.
Figure 4-18 Combining the I and Q Waveforms

Table of Contents

Other manuals for Agilent Technologies E4438C

Related product manuals