EasyManua.ls Logo

Agilent Technologies E4438C - Page 660

Agilent Technologies E4438C
700 pages
Print Icon
To Next Page IconTo Next Page
To Next Page IconTo Next Page
To Previous Page IconTo Previous Page
To Previous Page IconTo Previous Page
Loading...
636 Chapter 17
W-CDMA Downlink Digital Modulation for Receiver Test
W-CDMA Downlink Concepts
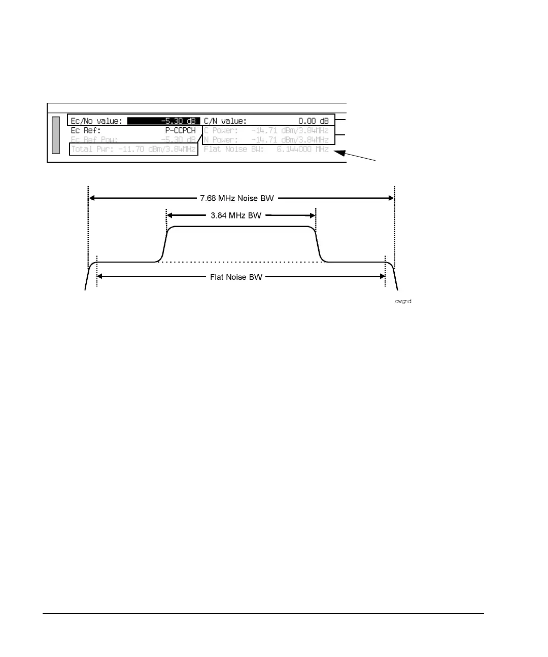
Figure 17-35 Noise Measurement Bandwidths
As shown in Figure 17-35, the noise signal is added to the W-CDMA signal across the entire W-CDMA
signal spectrum. The ESG gives you two ways to control the noise level. You can set the noise using either
E
c
/N
o
(energy per chip to noise power density ratio) or C/N (carrier power to noise power ratio). Any
adjustment to either noise parameter, E
c
/N
o
or C/N, will affect the other; they are not mutually exclusive.
E
c
/N
o
lets you set the noise power relative to the power of a channel, versus setting the noise relative to the
carrier power (C/N). For example, if you select the P-CCPCH (called a reference channel), the power level
of this channel is used in the ratio for E
c
/N
o
. Figure 17-36 shows the downlink channel selections for E
c
/N
o
and the channel reference fields.
AWGN 3.84 MHz Values
Flat Noise Bandwidth
AWGN 7.68 MHz Entries

Table of Contents

Other manuals for Agilent Technologies E4438C

Related product manuals