EasyManua.ls Logo

Becker MEXICO - Device Name

Becker MEXICO
245 pages
Print Icon
To Next Page IconTo Next Page
To Next Page IconTo Next Page
To Previous Page IconTo Previous Page
To Previous Page IconTo Previous Page
Loading...
174
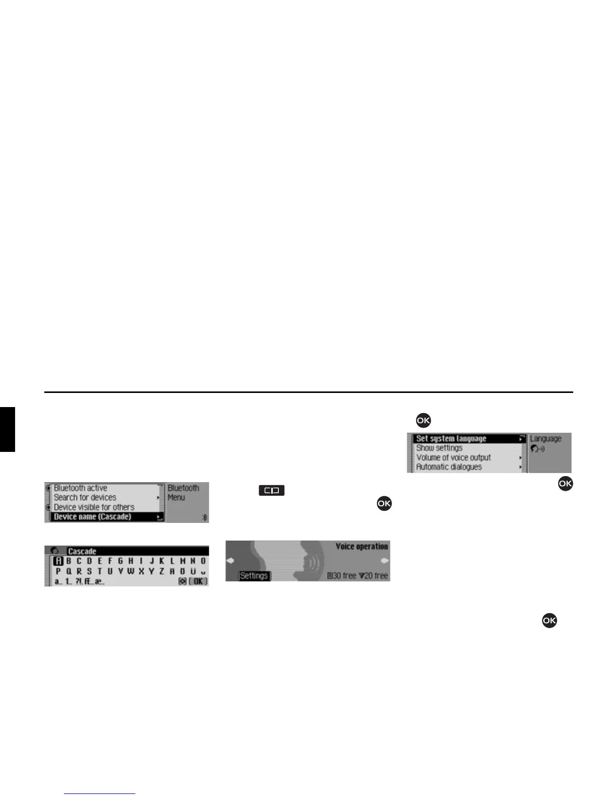
Settings
Device name
You can give your Mexico a name. This
name will be displayed by other
Bluetooth devices.
X Call up the Bluetooth settings.
X Select the 'HYLFHQDPH entry.
X Enter the desired name. For this
purpose, proceed as described in
“Data entry menus” auf Seite 13.
The changed name will be displayed in
brackets in the Bluetooth settings next to
the device name entry.
Voice mode
You can make settings for voice mode as
well as for traffic announcements and
other announcements here.
Calling up voice mode settings
X Press .
X Turn the rotary control/push button
counter clockwise until
9RLFH RSHUDWLRQ
appears at the top right of the display.
This display provides information about
the number of free voice entries still
available for address book entries and
radio stations. In the example, 30 are
available for address book entries and 20
for radio stations.
X Press the rotary control/push button
.
X Turn the rotary control/push button
to select one of the following options:
6HWV\VWHPODQJXDJH,
6KRZVHWWLQJV,
9ROXPHRIYRLFHRXWSXW,
$XWRPDWLFGLDORJXHV,
9RLFHHQWULHV,
9RLFHRXWSXW,
377H[WHQGHG or
5HSHDWYRLFHDQQRXQFHPHQW
X Confirm your selection by pressing
the rotary control/push button .
7049
7050
7002
7003

Table of Contents

Related product manuals