EasyManua.ls Logo

Chery A1 2009 - Description; Fuel Injector; Operation; Removal & Installation

Chery A1 2009
1080 pages
Print Icon
To Next Page IconTo Next Page
To Next Page IconTo Next Page
To Previous Page IconTo Previous Page
To Previous Page IconTo Previous Page
Loading...
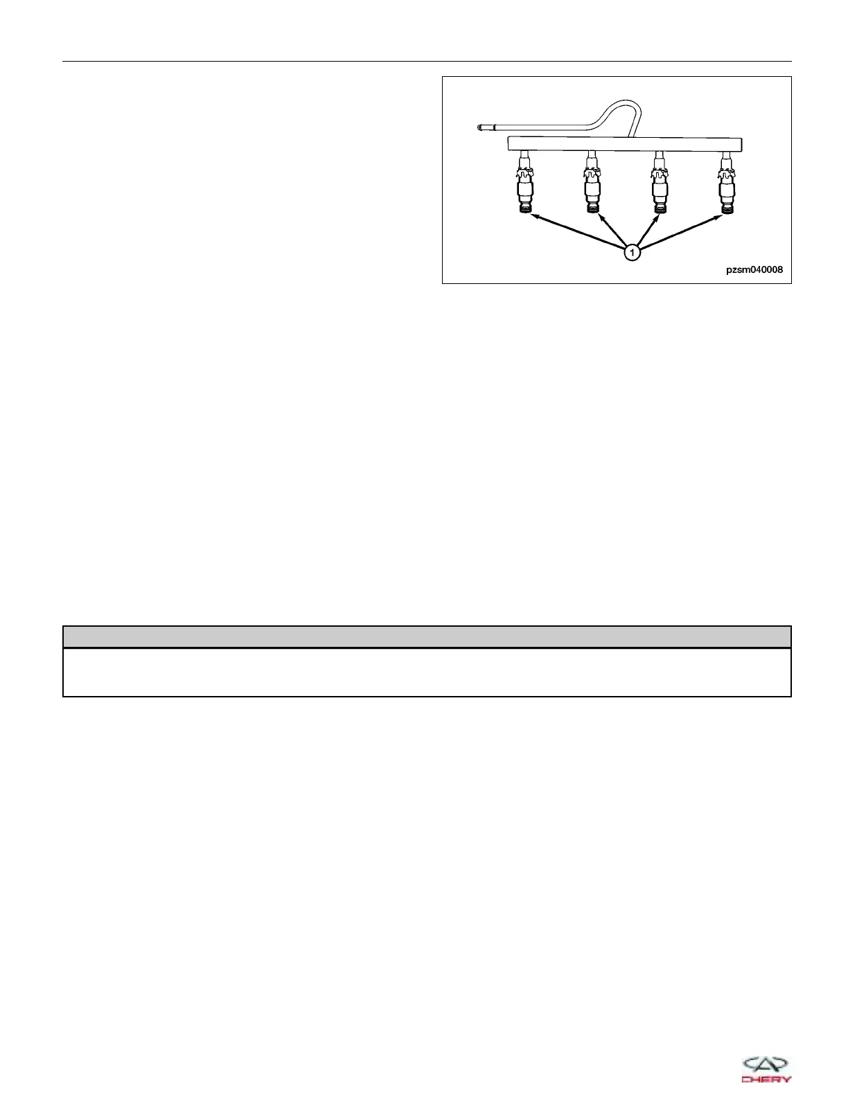
7. Remove the fuel rail with the four fuel injectors (1).
8. Installation is in the reverse order of removal.
Installation Notes:
Install new O-ring seals on the fuel injector sealing surfaces.
Fuel Injector
Description
The fuel injectors are positioned in the intake manifold with the nozzle ends directly above the intake valve port.
Operation
Injector operation is controlled by a ground path provided for each injector by the Engine Control Module (ECM).
Injector on-time (pulse-width) is variable, and is determined by the ECM. Based on the engine operating conditions,
the ECM will control injector pulse-width operation to obtain optimum performance.
NOTE :
Clean injectors regularly with an approved method.
Removal & Installation
WARNING!
Release fuel system pressure before servicing fuel system components. Service vehicles in well ventilated areas
and avoid ignition sources. Never smoke while servicing the vehicle. This may result in personal injury or death.
1. Release the fuel system pressure (See Fuel Pressure Relief Procedure in Section 04 Fuel Delivery).
2. Disconnect the negative battery cable.
3. Disconnect the electrical connectors from the fuel injectors.
4. Remove the intake manifold (See Intake Manifold Removal & Installation in Section 02 Engine).
5. Remove the fuel line from the fuel rail.
ON-VEHICLE SERVICE
PZSM040008
04–16
Chery Automobile Co., Ltd.

Table of Contents

Related product manuals