EasyManua.ls Logo

gefran GPC - Functional Diagram of Multi-Node Mode; Serial Communication (Modbus); Addressing (Cod); Single-Node Mode

gefran GPC
156 pages
Print Icon
To Next Page IconTo Next Page
To Next Page IconTo Next Page
To Previous Page IconTo Previous Page
To Previous Page IconTo Previous Page
Loading...
81901A “MSW_GPC-40/600A”_03-2021_ENG_page 15
3.4. Serial communication (Modbus)
3.4.1. Addressing (Cod)
GPC devices are identified uniquely identified through the
node address (Cod, i.e., device identification code) set with
the two hexadecimal rotary switches (tens + units). The
address is read-only.
Up to 99 GPC devices can be installed in a serial network,
with a selection of standard node addresses from ‘01’ to
‘99’ (hexadecimal settings A, B, C, D, E are reserved).
The selection of Single-node or Multi-node operating mode
is made via DIP switch 7.
3.4.2. Single-node mode
The default mode selected is Single-node. This mode is
activated by setting DIP switch 7 = OFF and it allows the
serial communication efficiency to be optimised by integrat-
ing several modules (a maximum of 3) with the Advanced
Power Controller.
The memory is organised in groups: the modules (max
3) are the same as in Multi-node mode, plus the Custom
group. Thus, you have:
GPC-M for the controller’s M module variables.
GPC-E1 for the controller’s E1 module variables.
GPC-E2 for the controller’s E2 module variables.
Custom, which collects up to 120 variables and param-
eters, each one word long, the meaning of which can
be changed.
The set value (Cod) on the rotary switches is unique.
The address of the individual modules is the same as the
Multi-node address with a fixed offset (+1024 for GPC-M,
+2048 for GPC-E1 and +4096 for GPC-E2).
For example, to access the variable Ou.P, which contains
the value of the control output, you use:
the address Cod, 1026 (= Cod, 2+1024) for GPC-M,
the address Cod, 2050 (= Cod, 2+2048) for GPC-E1,
the address Cod, 4098 (= Cod, 2+4096) for GPC-E2.
“2” is the address of the variable Ou.P in Multi-node mode.
3.4.2.1. Custom Modbus memory map
The addresses 0 to 119 correspond to the words of the
Custom group; variables and parameters are defined by
default.
The Custom Modbus map, accessible via the Main Menu
Custom Map, allows a word memory area of 32 contiguous
elements to be defined in order to make use of the Modbus
multi-word read and write commands and thus speed up
data exchange with a Modbus Master device.
The parameters defining the 120 internal variables, to be
read or written contiguously, are available in GF_eXpress
Custom Map in addresses 200 to 319. Addresses 0 to 119
contain the value of these parameters.
Addresses 200...319, the values of the Custom
variables and parameters, are protected against
overwriting.
To enable writing, the value 99 must be written to
addresses 600 and 601. The value 99 is reset at
each startup.
Example of memory map use
You want to access the Ou.P (power output) variables from
GPC-M, GPC-E1 and GPC-E2.
The 3 required Modbus addresses are 1026 for GPC-M,
2050 for GPC-E1 and 4098 for GPC-E2. Given the Modbus
addresses of the three parameters, three separate requests
would be necessary if the Custom map was not used.
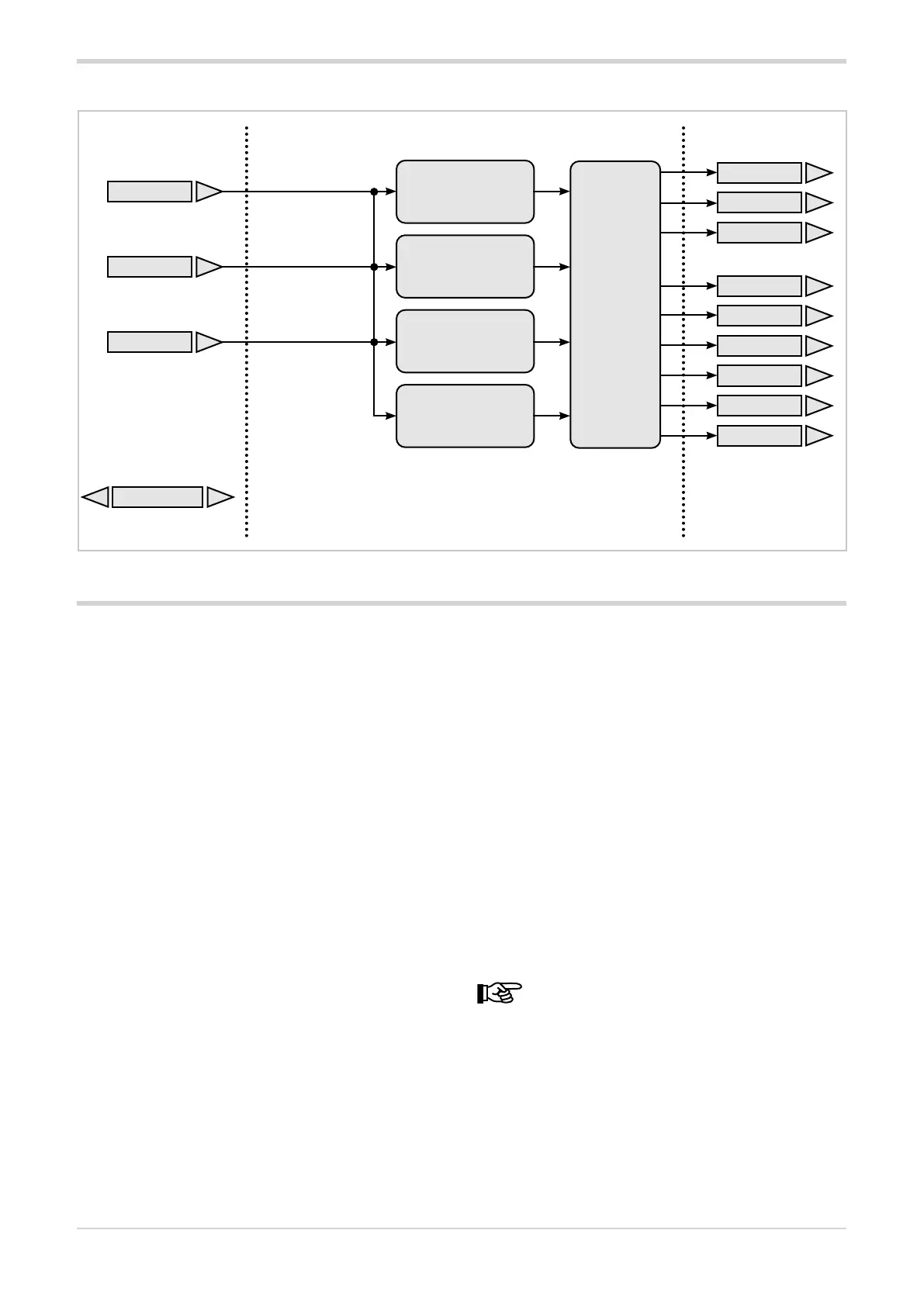
3.3.2. Functional diagram of multi-node mode
ID01
Parameters
ID02
Parameters *
ID03
Parameters **
Common parameters
Inputs
OUT5
OUT1
Inputs
OUT6
OUT2
Inputs
OUT7
OUT3
OUT9
OUT8
OUT10
SOFTWARE OUTPUTSINPUTS
SERIAL LINE
ID01
...
ID03
Allocation of
outputs
*) if GPC-E1 module is present
**) if GPC-E2 module is present
Note : Out 4 does not exist

Table of Contents

Related product manuals