EasyManua.ls Logo

LORAD AFFINITY Series - C-arm Components-Remove and Replace

LORAD AFFINITY Series
214 pages
Print Icon
To Next Page IconTo Next Page
To Next Page IconTo Next Page
To Previous Page IconTo Previous Page
To Previous Page IconTo Previous Page
Loading...
6-26 P/N 9-500-0255
Service Manual
Chapter 6: MaintenanceRemove and Replace Procedures
C-Arm ComponentsRemove and Replace
3.0 C-Arm ComponentsRemove and Replace
This section provides procedures for performing the following remove and replace
procedures:
C-arm Frame Components (Section 3.1)
Tubehead Components (Section 3.2)
Compression Assembly (Section 3.3)
Image Receptor Support Device Components (Section 3.4)
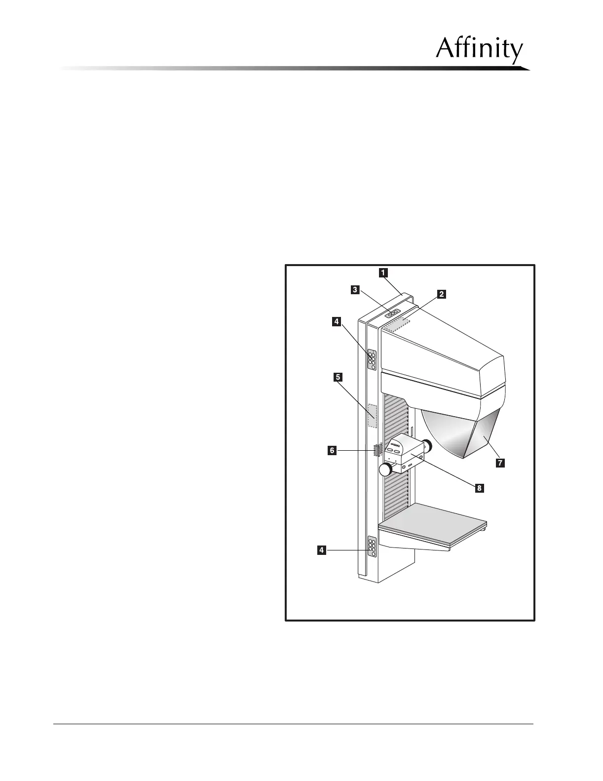
Use the following legend and illustration as a guide for parts identification on the C-arm
Frame (refer to Figure 6-15).
Legend for Figure 6-15
1. Patient Handle
2. Filament Protection Board
3. 3-Position Switch Board
4. 7-Position Switch Board
5. C-arm Switch Interface Board
6. C-arm Accessory Detect Board
7. Face Shield
8. Compression Device
Figure 6-15: C-arm Frame Components

Table of Contents