EasyManua.ls Logo

Panasonic fp2/fp2sh - 2.7 Power Supply Units

Panasonic fp2/fp2sh
374 pages
Print Icon
To Next Page IconTo Next Page
To Next Page IconTo Next Page
To Previous Page IconTo Previous Page
To Previous Page IconTo Previous Page
Loading...
FP2/FP2SHParts and Functions
2 28
2.7 Power Supply Units
2.7 Power Supply Units
2.7.1 Power Supply Specifications
Parts Terminology and Functions
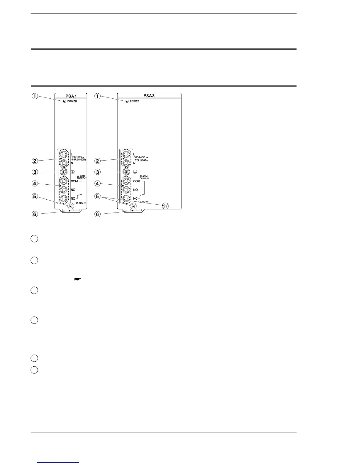
1
POWER LED
Turns on when power is applied.
2
Power supply terminal
is the terminal for power supply wiring. Uses M3 crimping (pressure connection)
terminals (
section 4.2.1).
3
Ground terminal
To minimize effects from noise and prevent electrical shocks, connect this terminal
to ground.
4
Alarm output terminal
Contact output terminals of the relay which turns on when the ALARM LED of the
CPU turns on. Normally closed contact (N.C.) and normally open contact (N.O.) are
available.
5
Unit installation screw
6
Temporary holding hook

Table of Contents

Related product manuals