EasyManua.ls Logo

RFL Electronics IMUX 2000 - Page 300

Default Icon
982 pages
Print Icon
To Next Page IconTo Next Page
To Next Page IconTo Next Page
To Previous Page IconTo Previous Page
To Previous Page IconTo Previous Page
Loading...
Because RFL and Hubbell® have a policy of continuous product improvement, we reserve the right to change designs and specications without notice.
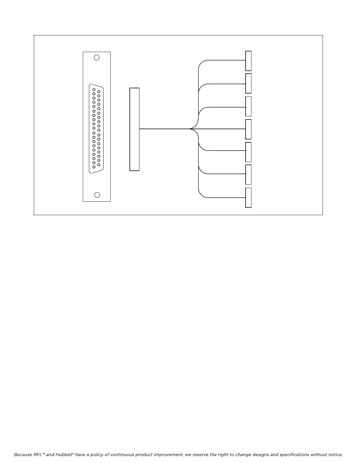
MA405I
Port 1
Port 2
Port 3
Port 4
Port 5
Port 6
Port 7
Fi
gure 1. MA-405I Modul
e Adapter and Adapter Cable
4. Refer to Figure 2 and Table 1 for the location of DIP switches on the DA-121I module.
5. Set the module address using DIP switches SW1-1 through SW1-6 for the desired remote
address (SCB address).
For remote access, each channel module in the IMUX 2000 must have a distinct
module address. Valid addresses are the numbers “1” to “36”. In most
installations the address will be set to the number of the slot the module is
occupying. Table 2 shows the switch settings for the module address. (Consult
your multiplexermanual for details on using the remote access and configuration
features of the system.)
RFL DA-121I RFL Electronics Inc.
February 10, 2000 4 (973)
334-3100

Table of Contents