EasyManua.ls Logo

RFL Electronics IMUX 2000 - Page 610

Default Icon
982 pages
Print Icon
To Next Page IconTo Next Page
To Next Page IconTo Next Page
To Previous Page IconTo Previous Page
To Previous Page IconTo Previous Page
Loading...
Because RFL and Hubbell® have a policy of continuous product improvement, we reserve the right to change designs and specications without notice.
16 24 17 14 27 29 25 26 15 13
6 10 11 12 28 22 20 21 23 19 18
1
2
4
5
3
7
8
9
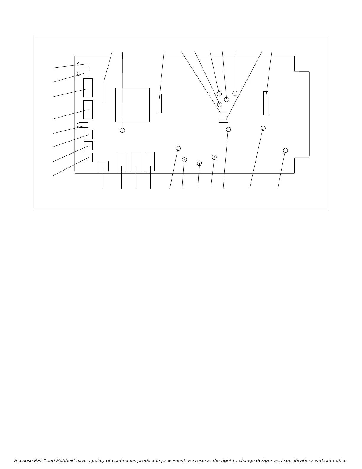
Figure 2. Controls and indicators, RFL VF-8A Selective Calling Unit
8. Set DIP switch SW2-6 to enable or disable Bus A.
Place SW2-6 in the DOWN position to transmit on Bus A and receive on Bus B.
Place SW2-6 in the UP position to disable Bus A.
9. Set DIP switch SW2-7 to enable or disable Bus B.
Place SW2-7 in the DOWN position to transmit on Bus B and receive on Bus A.
Place SW2-7 in the UP position to disable Bus B.
10. The 16-position rotary DIP switch SW3 is used to select the desired number of ring attempts.
Place SW3 to the desired setting in accordance with Table 4.
<< te
xt continues on page 10 >>
RFL VF-8A RFL Electronics Inc.
August
6, 2010 6 (973)
334-3100

Table of Contents