EasyManua.ls Logo

Siemens SINAMICS G120 - Factory Setting of the Converter Control

Siemens SINAMICS G120
456 pages
To Next Page IconTo Next Page
To Next Page IconTo Next Page
To Previous Page IconTo Previous Page
To Previous Page IconTo Previous Page
Loading...
Commissioning
5.2 Preparing for commissioning
Inverter with CU230P-2 Control Units
Operating Instructions, 11/2013, FW V4.6.6, A5E02430659B AG
77
5.2.3
Factory setting of the converter control
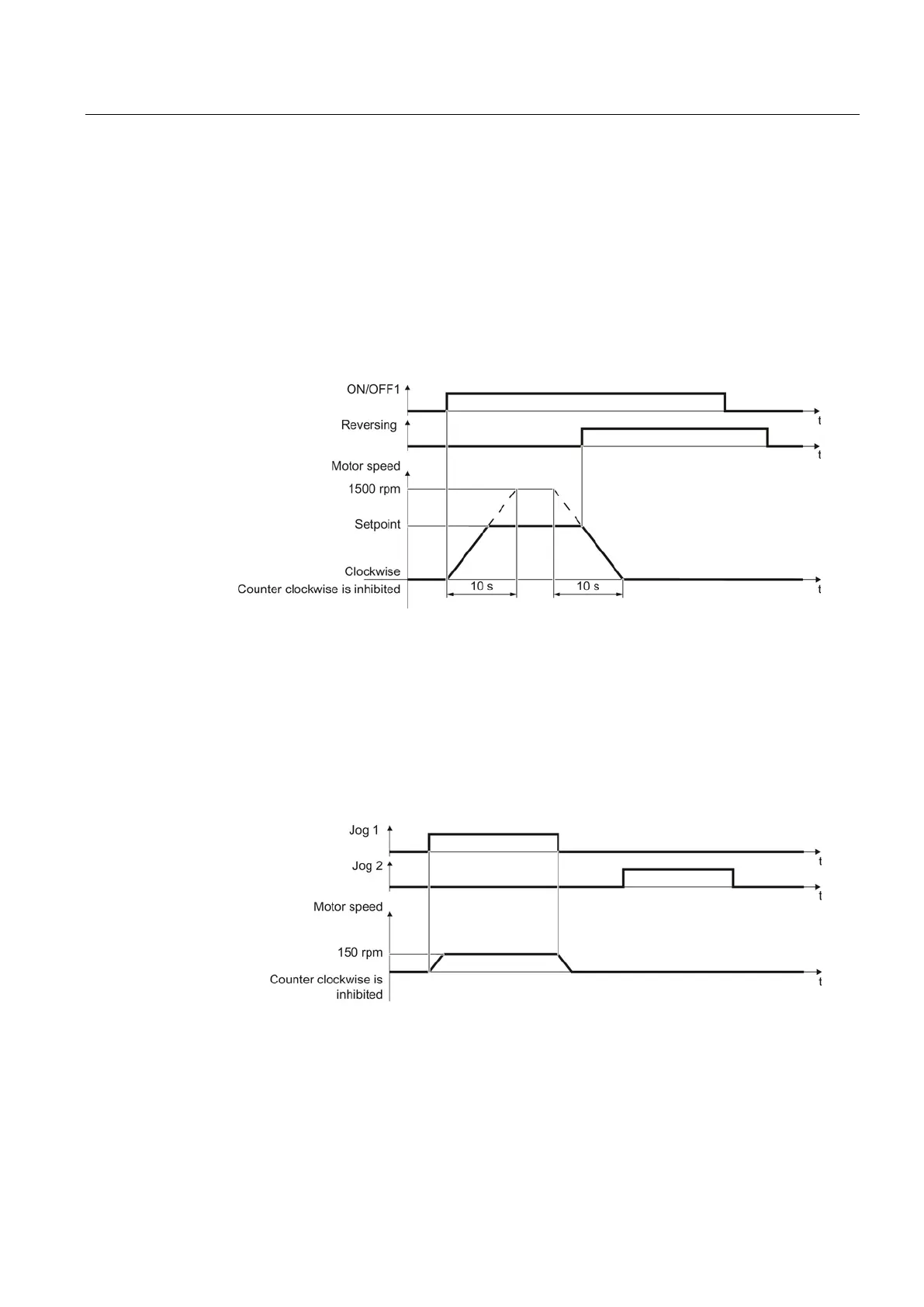
Switching the motor on and off
The inverters are set in the factory so that after they have been switched on, the motor
accelerates up to its speed setpoint (referred to 1500 rpm) in 10 seconds. After it has been
switched off, the motor brakes with a ramp-down time that is also 10 seconds.
Some Power Modules have different ramp-up and ramp-down times. For details, please refer
to the List Manual.
Figure 5-2 Switching on, switching off and reversing the motor in the factory setting
Switch on and switch off the motor in the jog mode
For inverters with PROFIBUS interface, operation can be switched over using digital input
DI 3. The motor is either switched on and off via PROFIBUS or via its digital inputs in the
jog mode.
For a control command at the respective digital input, the motor rotates with ±150 rpm. The
ramp-up and ramp-down times are also 10 seconds, referred to 1500 rpm.
Figure 5-3 Jogging the motor in the factory setting

Table of Contents

Other manuals for Siemens SINAMICS G120

Related product manuals