EasyManua.ls Logo

SYSMEX CA-500 - Pressure Chamber Assy

SYSMEX CA-500
259 pages
Print Icon
To Next Page IconTo Next Page
To Next Page IconTo Next Page
To Previous Page IconTo Previous Page
To Previous Page IconTo Previous Page
Loading...
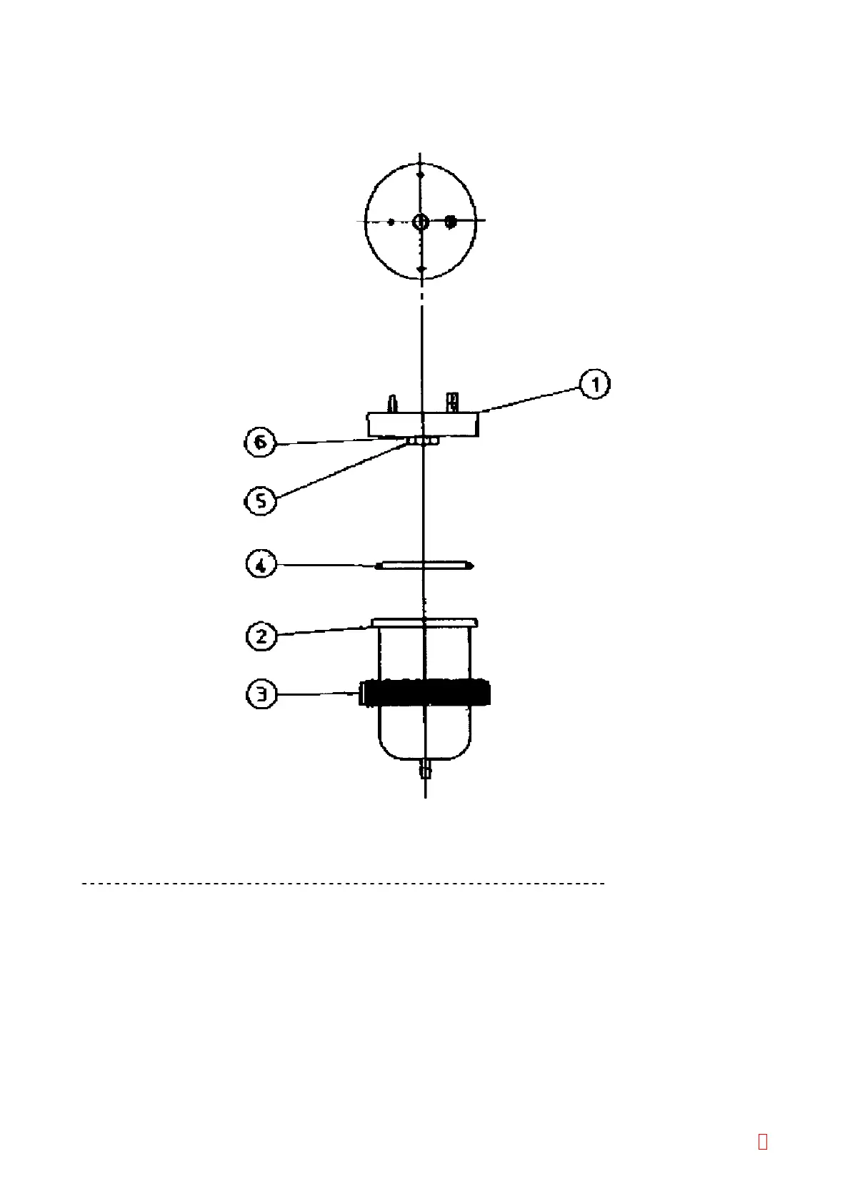
CA-500 Pressure Chamber Assy
Code No. Drawing
No.
Description Qty per
Unit
365-1333-3 1 SUPPORT NO.247 1
443-0823-8B 2 CHAMBER NO.4 1
363-5015-0 3 FIXING MATERIAL NO.15 1
346-3939-1 4 O-RING P-39 1
- - - 5 BOLT M8X10 1
346-3909-0 6 O-RING P-8 (NITRIL) 1
CA-500 Series S/M A-1-36 Revised December 2001 8

Table of Contents

Related product manuals