EasyManua.ls Logo

SYSMEX CA-500 - 2.7 X-Y DRIVE UNIT

SYSMEX CA-500
259 pages
Print Icon
To Next Page IconTo Next Page
To Next Page IconTo Next Page
To Previous Page IconTo Previous Page
To Previous Page IconTo Previous Page
Loading...
CA-500 Series S/M 2-8 Revised December 2001
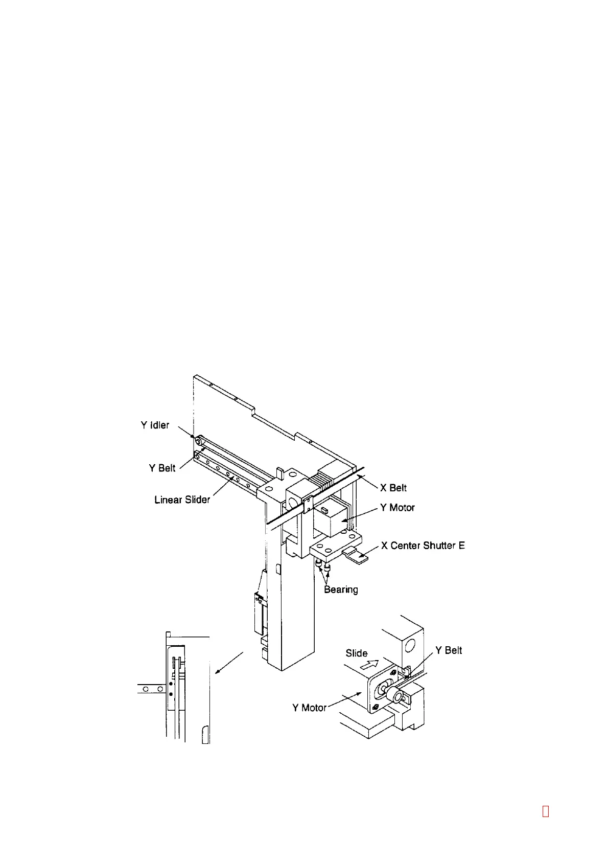
2.7 X-Y DRIVE UNIT (X-AXIS MOTOR ASSEMBLY/DRIVE-AXIS ARM ASSEMBLY)
2.7.1 Outline
This unit moves the sample probe, which aspirates and dispense plasma and reagent, to the Sample Rack,
Reagent Rack, and Reaction Tube Rack; and drives, in X-Y direction, the catcher which moves reaction tubes
from the reaction tube rack to the heater section, detector block, and further to dispense/discard hole.
2.7.2 Specifications/Functions
(1) X-Direction System
Drive Source: Unipolar type stepping motor (1-2 phase excitation, constant current drive)
Drive transmission: Timing belt type
Resolving power: Approx. 0.08 mm/step
Drive speed: Approx. 4500 pps (at high speed in trapezoidal control)
Sensor: For drive unit home position (transmission type) - 1 unit
(2) Y-Direction System
Drive Source: Unipolar type stepping motor (1-2 phase excitation, constant current drive)
Drive transmission: Timing belt type
Resolving power: Approx. 0.08 mm/step
Drive speed: Approx. 4000 pps (at high speed in trapezoidal control)
Sensor: For drive unit home position (transmission type) - 1 unit
2.7.3 Assembly Diagram
8

Table of Contents

Related product manuals