EasyManua.ls Logo

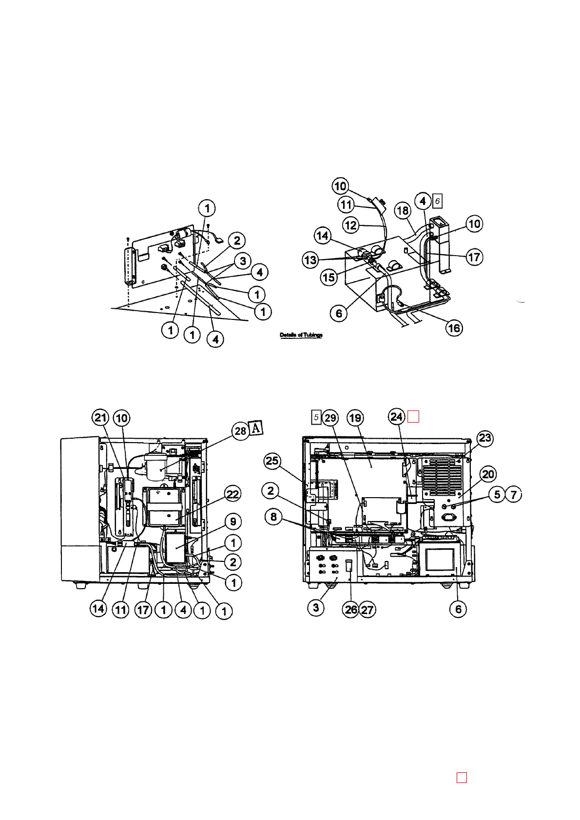
SYSMEX CA-500 - CA-500 Main unit Chassis Assy (2;2)

SYSMEX CA-500
259 pages
Print Icon
To Next Page IconTo Next Page
To Next Page IconTo Next Page
To Previous Page IconTo Previous Page
To Previous Page IconTo Previous Page
Loading...
CA-500 Series S/M A-1-4 Revised December 2003
18 ECR303K033
CA-500 Main unit Chassis Assy (2/2)
18

Table of Contents

Related product manuals