EasyManua.ls Logo

SYSMEX CA-500 - Table Lock Mech. Assy; X AXIS SLIDER ASSY

SYSMEX CA-500
259 pages
Print Icon
To Next Page IconTo Next Page
To Next Page IconTo Next Page
To Previous Page IconTo Previous Page
To Previous Page IconTo Previous Page
Loading...
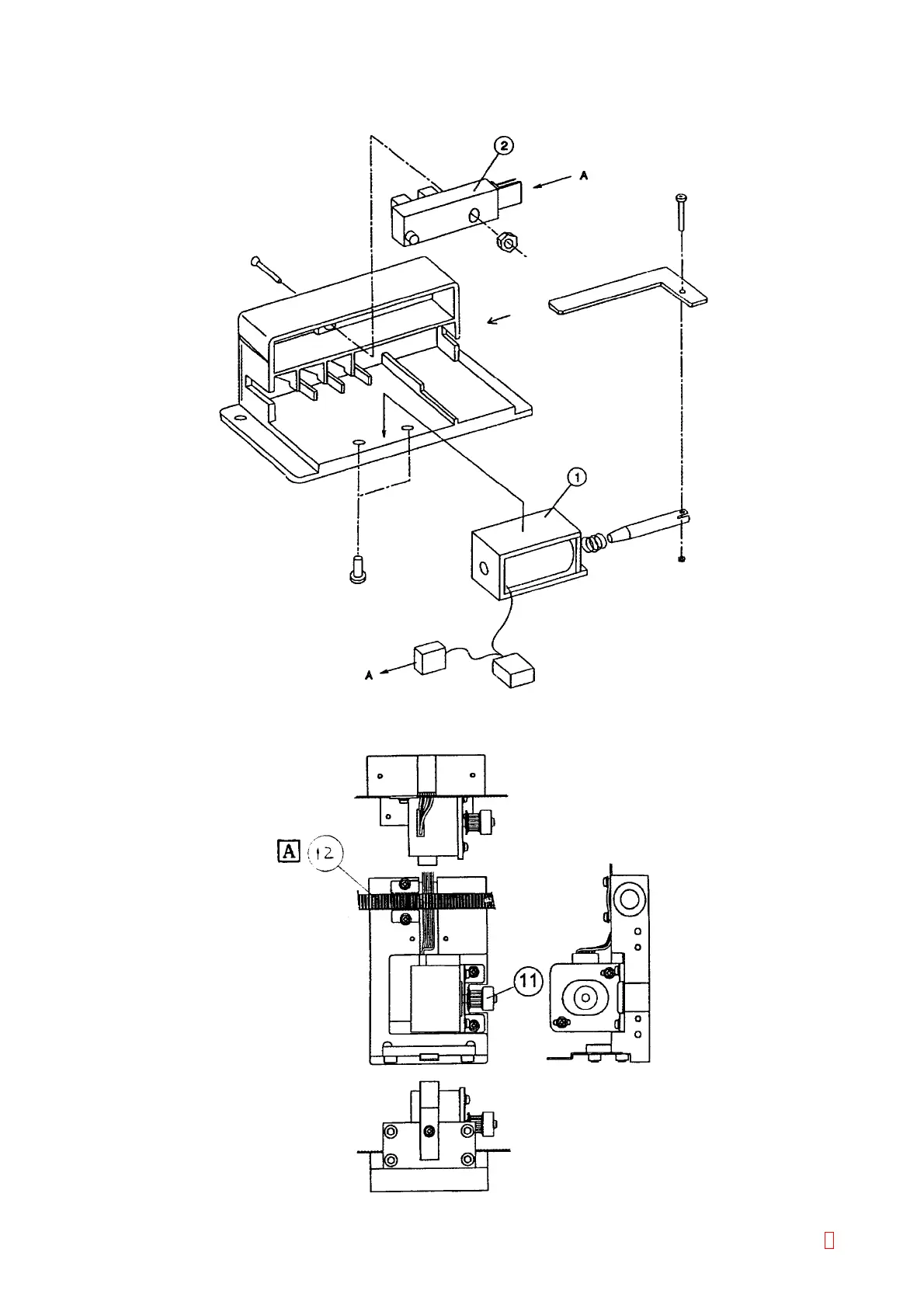
Table Lock Mech. Assy
X AXIS SLIDER ASSY
CA-500 Series S/M A-1-14 Revised December 2001 8

Table of Contents

Related product manuals