EasyManua.ls Logo

Oki IP-6620 - Page 118

Oki IP-6620
280 pages
Print Icon
To Next Page IconTo Next Page
To Next Page IconTo Next Page
To Previous Page IconTo Previous Page
To Previous Page IconTo Previous Page
Loading...
118
Maintenance
8
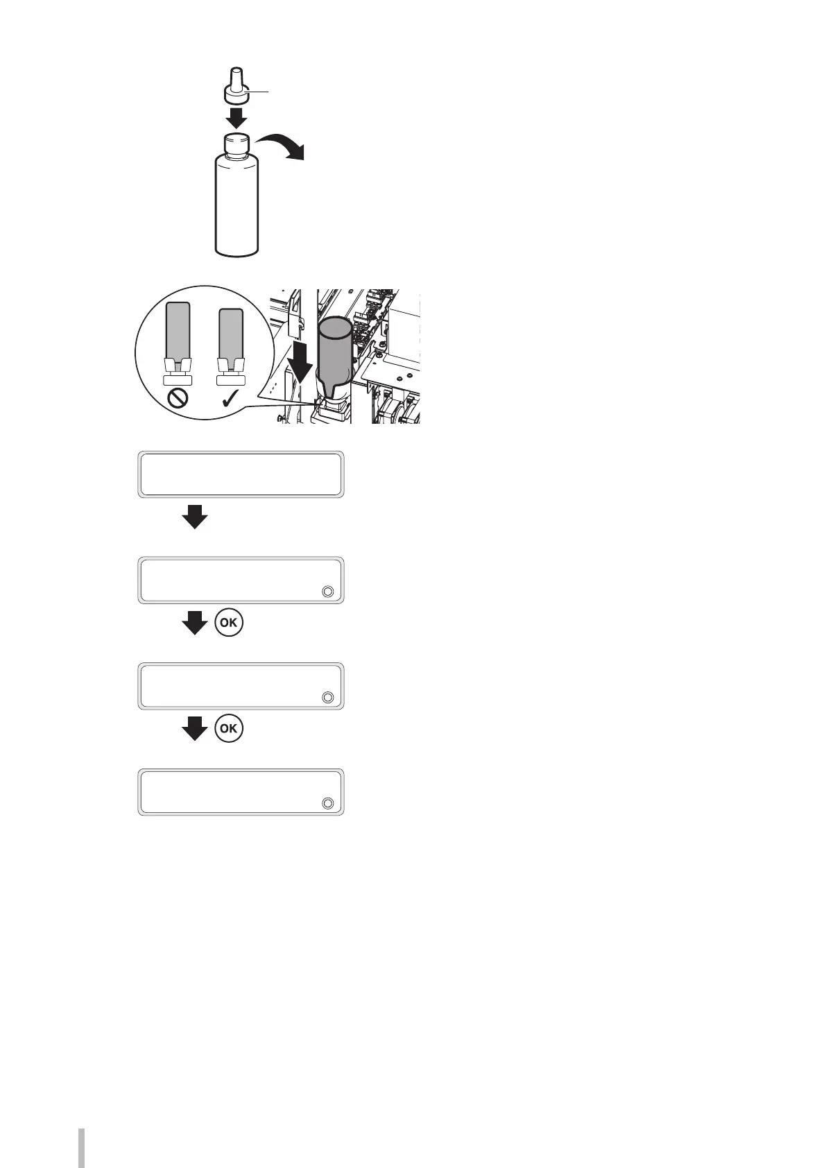
Printer set cap
Replace the cap of the new wiper cleaning
liquid bottle with the printer dedicated cap.
9
Set the wiper cleaning liquid bottle in the
printer and push in the stopper of the printer
cap by pressing the top of it.
10
AFTER REPLACING WCL
CLOSE COVERS
Close the cap cover and the front cover.
11
REPLACED WCL?
2
NO
Press the Down button to select YES.
12
REPLACED WCL?
2
YES
Press the OK button.
13
>WIPER MAINTENANCE
2
REPLACE LIQUID

Table of Contents

Other manuals for Oki IP-6620

Related product manuals