EasyManua.ls Logo

Still RX20-20L - Definition of Directions; Schematic Views

Still RX20-20L
454 pages
Print Icon
To Next Page IconTo Next Page
To Next Page IconTo Next Page
To Previous Page IconTo Previous Page
To Previous Page IconTo Previous Page
Loading...
Foreword 1
Information about the documentati
on
Abbrevi-
ation
Meaning
Explanation
VDMA
Verband Deutscher Maschinen- und
Anlagenbau e.V.
German Mechanical Engineer
ing Industry
Association
WLAN Wireless LAN Wireless local area network
.
6210_001-031
4
2
3
1
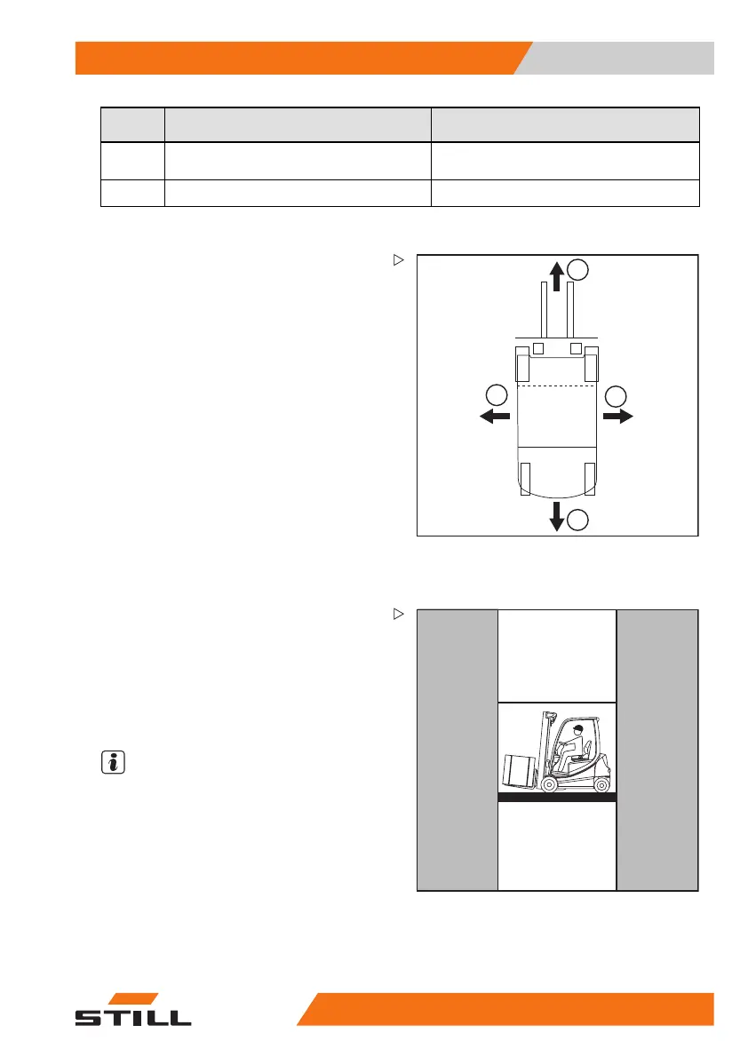
Definition of direction
s
The directions "forwar
ds" (1), "backwards" (3),
"right" (2) and "left" (
4) refer to the installation
position of the parts as
seen from the driver's
compartment; the load i
s to the front.
Schematic views
View of functions and operating proce-
dures
At many points in this documentation, the
(mostly sequential) operation of certain func-
tions or operating procedures is explained.
Schematic diagrams of a counterbalance
truck are used to illustrate these procedures.
NOTE
These schematic views are not representative
of the structural state of the documented truck.
The views are used solely for the purpose of
clarifying procedures.
563
68011531 EN - 06/2019 - 02 33

Table of Contents

Related product manuals