EasyManua.ls Logo

Wintriss SmartPAC 2 - Installing Smartpac 2; Mounting the Smartpac 2 Control Enclosure

Wintriss SmartPAC 2
604 pages
Print Icon
To Next Page IconTo Next Page
To Next Page IconTo Next Page
To Previous Page IconTo Previous Page
To Previous Page IconTo Previous Page
Loading...
SmartPAC 2 with WPC 2000 Integration User Manual 1128600
Installation 2-47
Installing SmartPAC 2
Mounting the SmartPAC 2 Control Enclosure
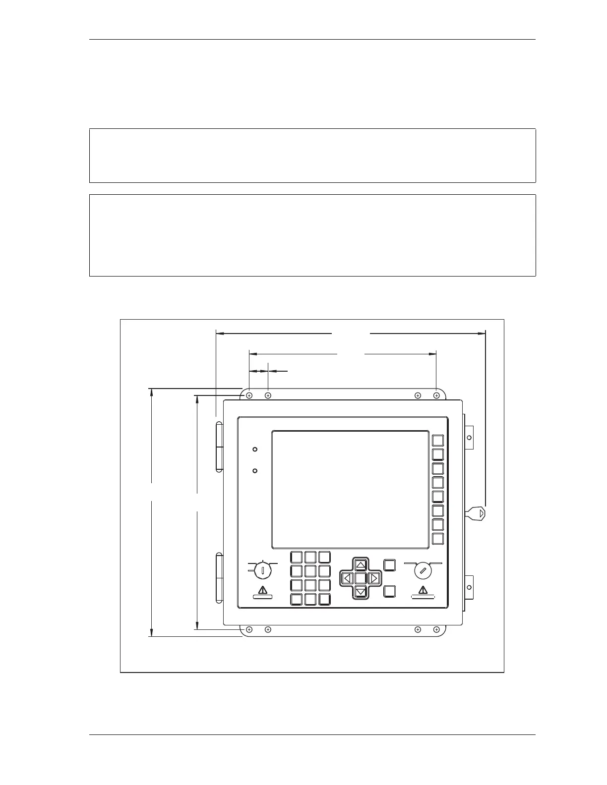
To mount the SmartPAC 2 enclosure, follow the steps below, referring to Figure 2-23.
If your SmartPAC 2 is a panel mount version, go to the next section, page 2-48, for mounting
instructions.
PLACE SMARTPAC 2 AT A CONVENIENT HEIGHT
SmartPAC 2 should be installed at a convenient height for all users. Ideally, the top edge of the
unit should be approximately at chin level. Experiment to determine a good height for all users
before mounting.
Figure 2-23. SmartPAC 2 Mounting Dimensions: Enclosure
NOTICE
NOTICE
Enclosure depth approx. 5.5 inches (140 mm). However, you must allow clearance of
approximately 18 inches (460 mm) from mounting surface to fully open the enclosures door.
ENTER
RESET
PROG RUN
POWER
BRAKE
WARNING
HELP
123
456
987
.
0
CLEAR
SmartPAC 2
13.25
(336.6)
12.51
(317.8)
1.00
(25.4)
TYP
10.00
(254.0)
14.2 REF
(360)
F1
F2
F3
F4
F5
F6
F7
F8
OFF
INCH
SINGLE
STROKE
CONT

Table of Contents

Other manuals for Wintriss SmartPAC 2