EasyManua.ls Logo

YASKAWA E-7S SERVOPACK SGD7S - Page 107

YASKAWA E-7S SERVOPACK SGD7S
671 pages
To Next Page IconTo Next Page
To Next Page IconTo Next Page
To Previous Page IconTo Previous Page
To Previous Page IconTo Previous Page
Loading...
4.1 Wiring and Connecting SERVOPACKs
4.1.2 Countermeasures against Noise
4-7
4
Wiring and Connecting
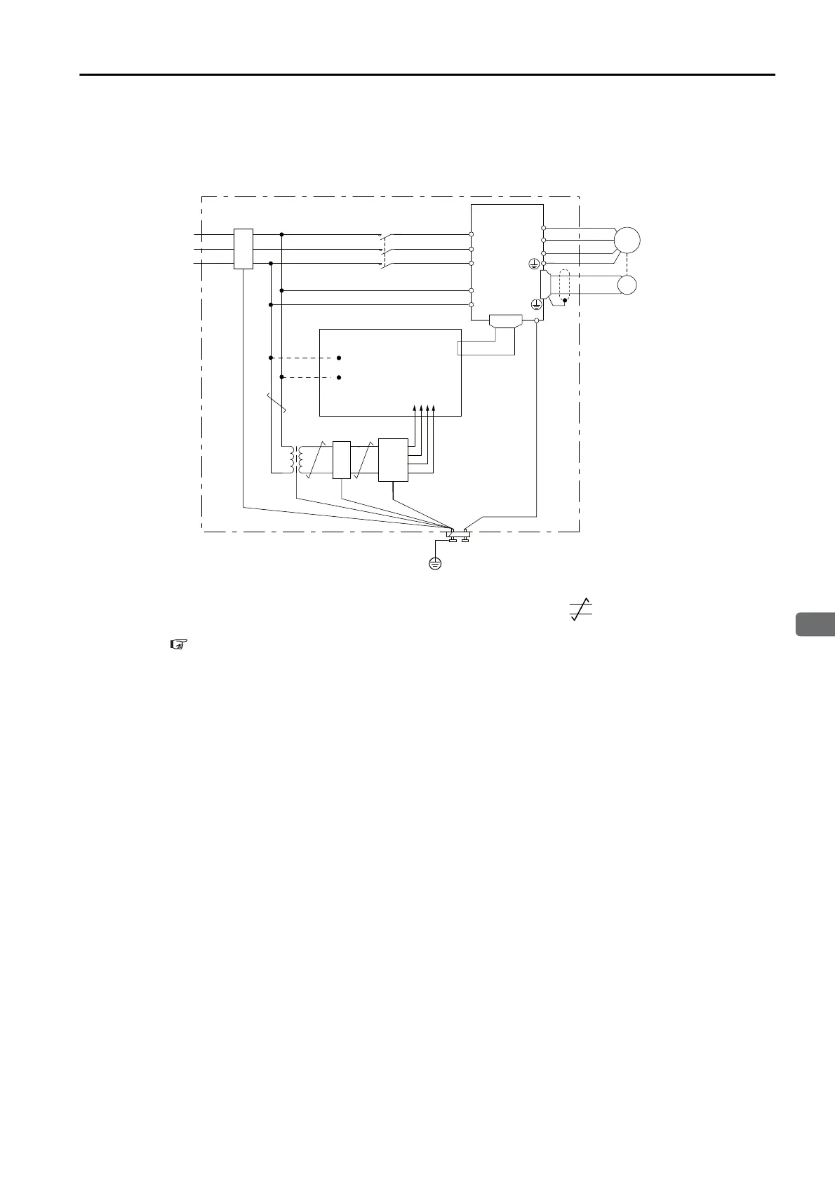
Noise Filters
You must attach Noise Filters in appropriate places to protect the SERVOPACK from the
adverse effects of noise. The following is an example of wiring for countermeasures against
noise.
*1. For the ground wire, use a wire with a thickness of at least 2.0 mm
2
(preferably, flat braided copper wire).
*2. Whenever possible, use twisted-pair wires to wire all connections marked with .
*3. Refer to the following section for precautions when using Noise Filters.
Noise Filter Wiring and Connection Precautions on page 4-8
U
W
V
L2
L1
L3
L2C
L1C
CN2
CN1
SERVOPACK
Servomotor
Operation relay sequence
User signal generators
DC
power
supply
(Grounding plate)
External ground: Use a dedicated ground.
2.0 mm
2
min.
200 VAC
Noise Filter
*1
2.0 mm
2
min.
2.0 mm
2
min.
ENC
(FG)
M
Noise Filter
*3
*3 *2

Table of Contents

Related product manuals