EasyManua.ls Logo

ABB RED650 - Operation Principle; Loss-Of-Load Acceleration; Zone Extension

ABB RED650
926 pages
Print Icon
To Next Page IconTo Next Page
To Next Page IconTo Next Page
To Previous Page IconTo Previous Page
To Previous Page IconTo Previous Page
Loading...
Table 238: ZCLCPSCH Non group settings (basic)
Name Values (Range) Unit Step Default Description
GlobalBaseSel 1 - 12 - 1 1 Selection of one of the Global Base
Value groups
13.3.6 Operation principle
13.3.6.1 Zone extension
M13819-3 v2
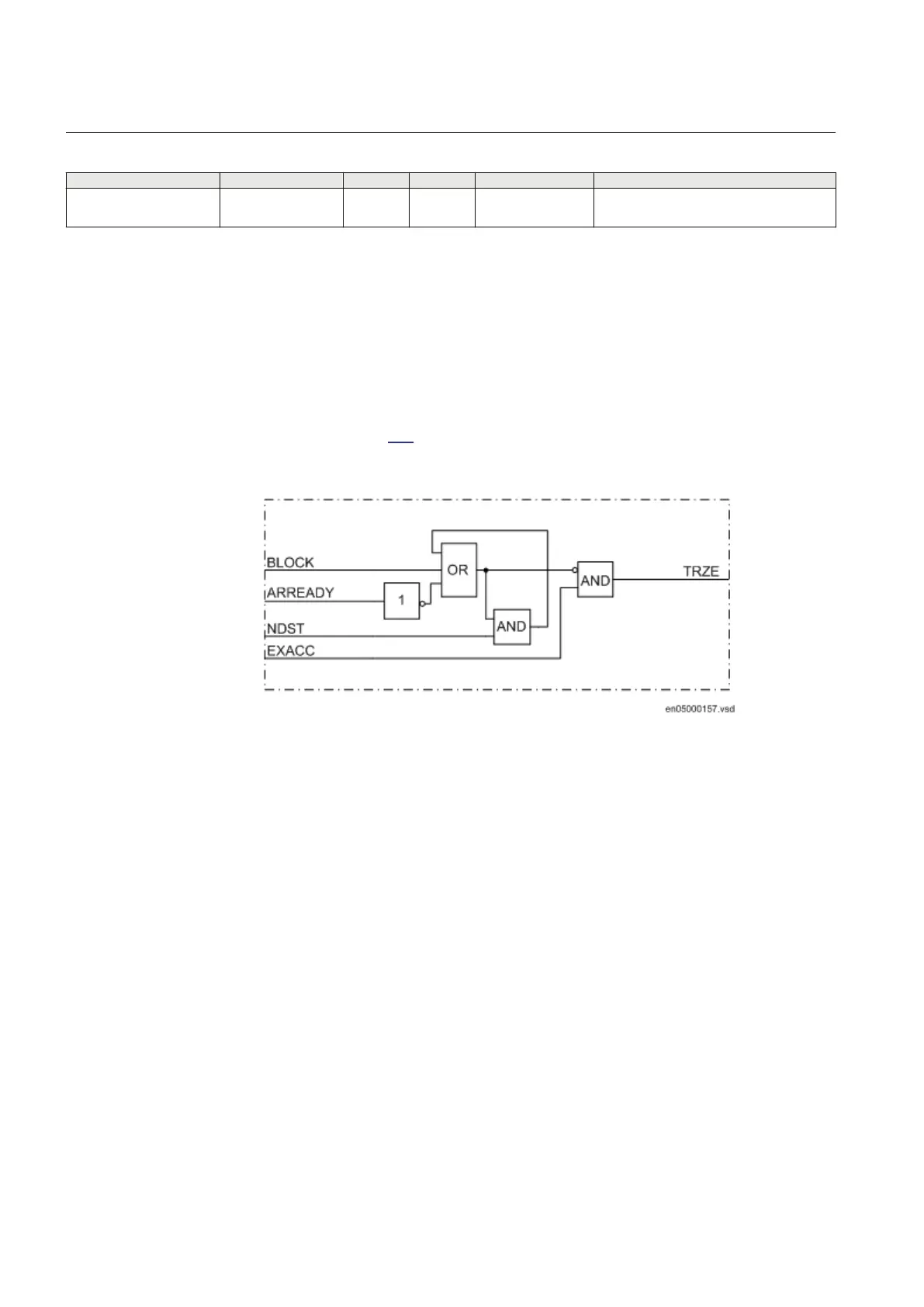
The overreaching zone is connected to the input EXACC. For this reason,
configure the ARREADY functional input to a READY functional output of a used
autoreclosing function or via the selected binary input to an external autoreclosing
device, see figure 205.
This will allow the overreaching zone to trip instantaneously.
IEC05000157 V1 EN-US
Figure 205: Simplified logic diagram for local acceleration logic
After the autorecloser initiates the close command and remains in the reclaim state,
there will be no ARREADY signal, and the protection will trip normally with step
distance time functions.
In case of a fault on the adjacent line within the overreaching zone range, an
unwanted autoreclosing cycle will occur. The step distance function at the reclosing
attempt will prevent an unwanted retrip when the breaker is reclosed.
On the other hand, at a persistent line fault on line section not covered by
instantaneous zone (normally zone 1) only the first trip will be "instantaneous".
The function will be blocked if the input BLOCK is activated (common with loss-
of-load acceleration).
13.3.6.2 Loss-of-Load acceleration
M13819-9 v5
When the "acceleration" is controlled by a loss-of-load, the overreaching zone used
for "acceleration" connected to input LLACC is not allowed to trip
"instantaneously" during normal non-fault system conditions. When all three-phase
Section 13 1MRK 505 394-UEN A
Scheme communication
416 Line differential protection RED650 2.2 IEC
Technical manual

Table of Contents

Other manuals for ABB RED650

Related product manuals