EasyManua.ls Logo

Gilera GP 800 i.e. - Code 1

Gilera GP 800 i.e.
431 pages
Print Icon
To Next Page IconTo Next Page
To Next Page IconTo Next Page
To Previous Page IconTo Previous Page
To Previous Page IconTo Previous Page
Loading...
WITH SERVICE KEYS
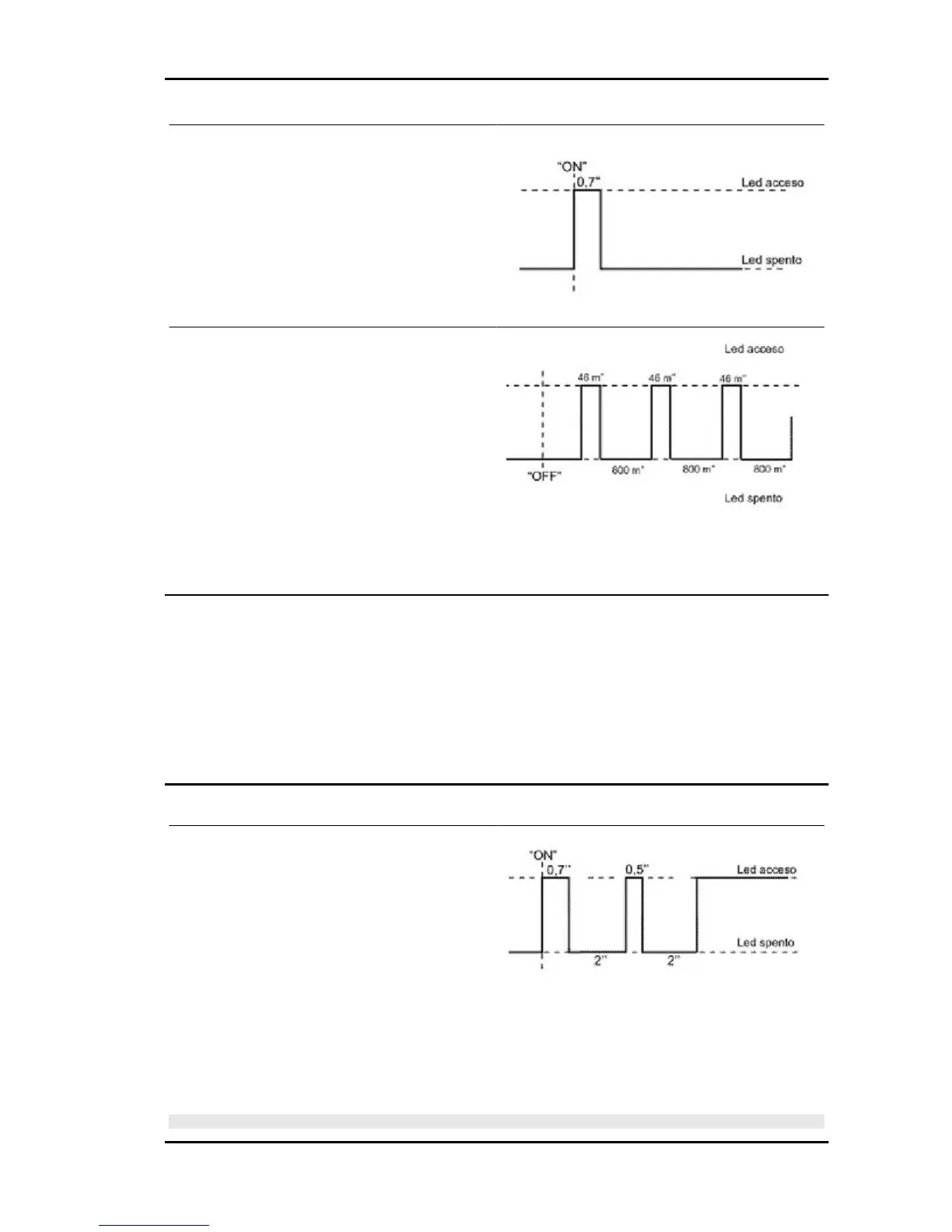
After the confirmation flash when switching to
«ON», the LED remains off.
Switching from «ON» to «OFF» with programmed
system causes the intermittent switching on of the
LED, with an antitheft effect.
This occurs with any key used for programming.
If the scooter is not used, the deterrent light stops automatically after 48 hours to prevent discharging
the battery. A new 48-h cycle starts by switching from "OFF" to "ON" and "OFF" again.
Diagnostic codes
The LED indication is divided into 3 steps:
1st step: A flash: "ON" switching recognition
2nd step: Series of flashes: diagnosis code indication
3rd step: Steady light on or off:
on = start-up disabled off = start-up enabled
Code 1
Code 1 indicates a non-programmed system.
If the code is still displayed after having carried out
the programming procedure, repeat the procedure
carefully observing the "ON" times of each key.
If the code is still displayed, proceed as follows:
- Disconnect the battery negative.
- Remove the control unit connector.
- Remove the main decoder connector.
N.B.
GP 800 i.e. Injection
INJEC - 19

Table of Contents

Related product manuals