EasyManua.ls Logo

MBO T700 - Cutting; Scoring

MBO T700
479 pages
Print Icon
To Next Page IconTo Next Page
To Next Page IconTo Next Page
To Previous Page IconTo Previous Page
To Previous Page IconTo Previous Page
Loading...
Page 68
Alterations reserved Stand 12/02
Operating Manual T 700 / T 800 - FP ENG
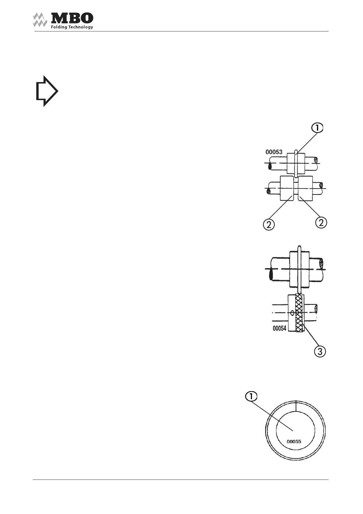
5.5.9 Scoring
> NOTICE < Basically, crossfolds with buckle plates should be pre-scored if you do not
perforate! Without scoring it is not ensured that the fold will always be exactly in the desired
position.
The scoring knife 1 must be placed
between two transport rollers 2
(or counter knives) at the round side.
When running pulp board sheets you
should score on the rubber part
of the transport roller 3.
For this purpose use a scoring knife
with a smaller outer diametre!
Special scoring devices may
also be used upon request.
5.5.10 Cutting
For separation of multiple-up
production you should use
one (or multiple) knives 1.
The installation occurs in the
same way as perforating knife.

Table of Contents

Related product manuals