EasyManua.ls Logo

MBO T700 - Page 273

MBO T700
479 pages
Print Icon
To Next Page IconTo Next Page
To Next Page IconTo Next Page
To Previous Page IconTo Previous Page
To Previous Page IconTo Previous Page
Loading...
Page 83Alterations reserved Stand 12/2002
Operating Manual
T 700 / T 800 - R ENG
Continuation
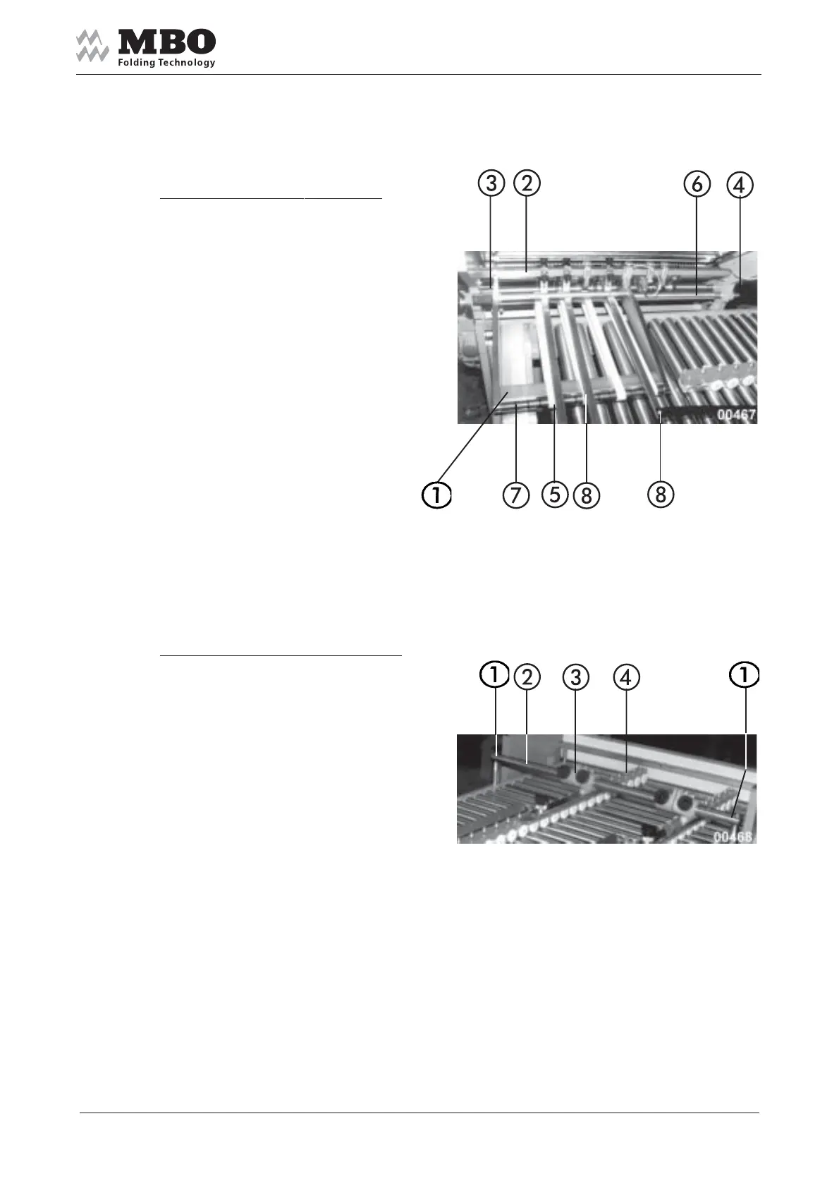
Installation of the conveyor table:
Hook the conveyor table 1 onto the
cross-bar 2, and fasten it with screws.
Screw 3 serves as a sidelay
(is being set by the manufacturer).
Pull off the plug bearing 4 and thread
the tapes 5 into the tape roller 6.
Loosen the screw prior thereto.
Centering of the tape running:
Place the tapes 5 above
the rubber rings 7.
Use smoothers 8.
Installation of the additional sidelay:
Remove both screws 1
at sidelay support 2.
Push the sidelay support 2 through
the holder 3 of the additional sidelay 4.
Refasten the sidelay support 2.
Continuation

Table of Contents

Related product manuals