EasyManua.ls Logo

Still RX20-20L - Coupling the trailer

Still RX20-20L
454 pages
Print Icon
To Next Page IconTo Next Page
To Next Page IconTo Next Page
To Previous Page IconTo Previous Page
To Previous Page IconTo Previous Page
Loading...
Operation 4
Auxiliary equipment
Ceiling height: 24 m
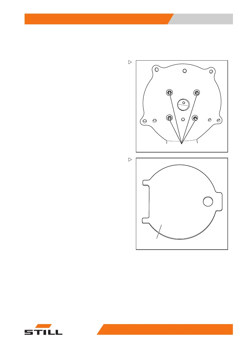
Pull out the connecting cable from the
sensor.
1
On the underside of the assembly baseplate
on the overhead guard, loosen the four nuts
(1) on the sensor.
Carefully remove the sensor.
2
Using the supplied key (2), open the sensor
housing to gain access to the DIP switches.
563
68011531 EN - 06/2019 - 02 261

Table of Contents

Related product manuals