EasyManua.ls Logo

Yamaha F115A - Page 60

Yamaha F115A
709 pages
Print Icon
To Next Page IconTo Next Page
To Next Page IconTo Next Page
To Previous Page IconTo Previous Page
To Previous Page IconTo Previous Page
Loading...
2-12
SPEC
E
MAINTENANCE SPECIFICATIONS
Symbol
Unit
Models
Worldwide F115AET FL115AET
USA F115TR LF115TR
Canada F115TR LF115TR
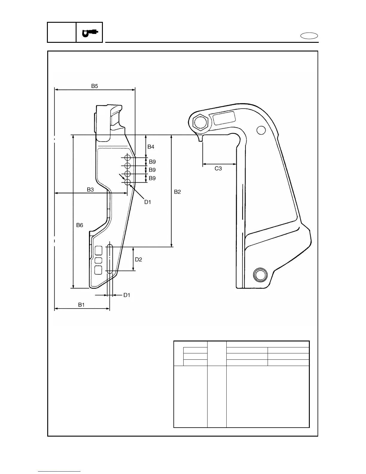
B1 mm (in) 125.4 (4.9)
B2 mm (in) 254 (10.0)
B3 mm (in) 163.5 (6.4)
B4 mm (in) 50.8 (2.0)
B5 mm (in) 180 (7.1)
B6 mm (in) 367 (14.4)
B9 mm (in) 18.5 (0.7)
C3 mm (in) 82 (3.2)
D1 mm (in) 13 (0.5)
D2 mm (in) 55.5 (2.2)

Table of Contents

Other manuals for Yamaha F115A

Related product manuals