EasyManua.ls Logo

Yamaha F115A - DRIVE SHAFT (REGULAR ROTATION MODELS)

Yamaha F115A
709 pages
Print Icon
To Next Page IconTo Next Page
To Next Page IconTo Next Page
To Previous Page IconTo Previous Page
To Previous Page IconTo Previous Page
Loading...
6-17
E
LOWR
DRIVE SHAFT (REGULAR ROTATION MODELS)
DRIVE SHAFT (REGULAR ROTATION MODELS)
6
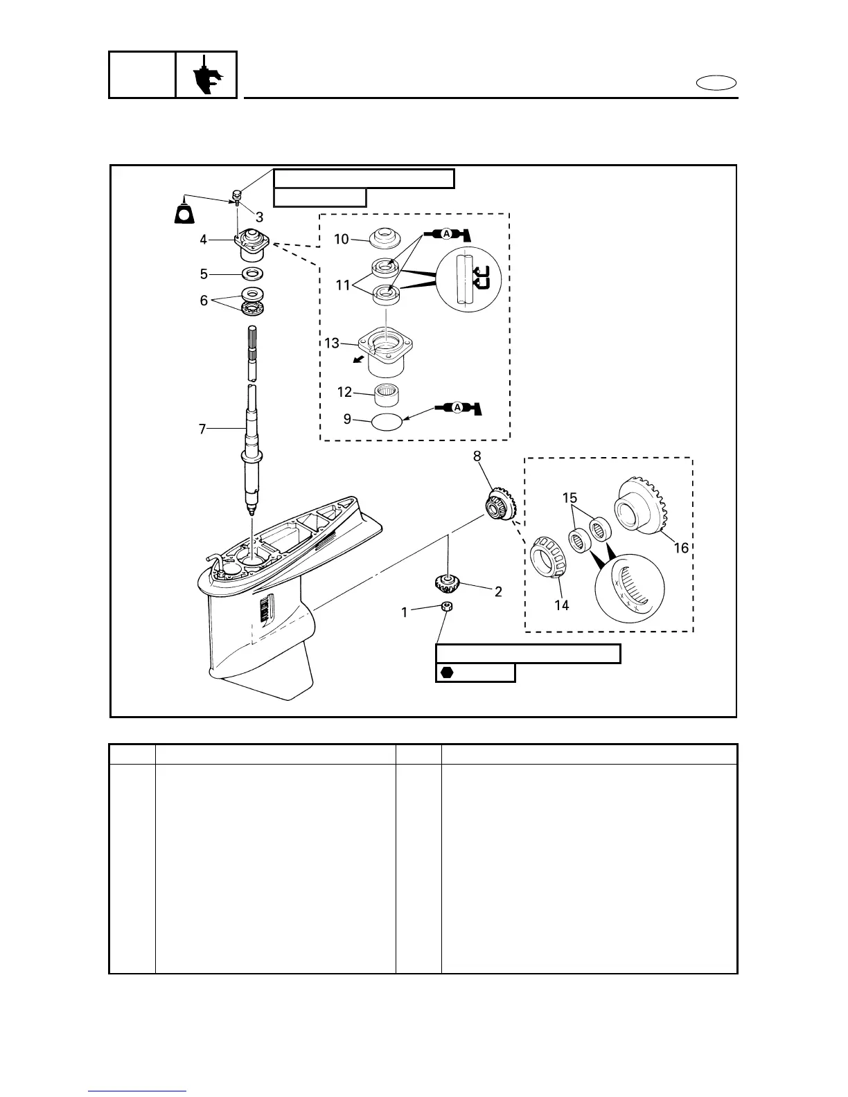
REMOVING/INSTALLING THE DRIVE SHAFT 6
Order Job/Part Q’ty Remarks
Propeller shaft housing assembly Refer to “PROPELLER SHAFT HOUSING
ASSEMBLY (REGULAR ROTATION
MODELS)” on page 6-9.
1 Nut 1
2 Pinion 1
3 Bolt 4 (with washer)
4 Drive shaft housing assembly 1
5 Pinion shim *
6 Thrust bearing 1
7 Drive shaft 1
Continued on next page.
*: As required
93 Nm (9.3 m
kgf, 67 ft
Ib)
: 22 mm
18 Nm (1.8 m
kgf, 13 ft
Ib)
8 × 25 mm
LTLT
LT
572
6240

Table of Contents

Other manuals for Yamaha F115A

Related product manuals