EasyManua.ls Logo

YASKAWA E-7S SERVOPACK SGD7S - Page 137

YASKAWA E-7S SERVOPACK SGD7S
671 pages
To Next Page IconTo Next Page
To Next Page IconTo Next Page
To Previous Page IconTo Previous Page
To Previous Page IconTo Previous Page
Loading...
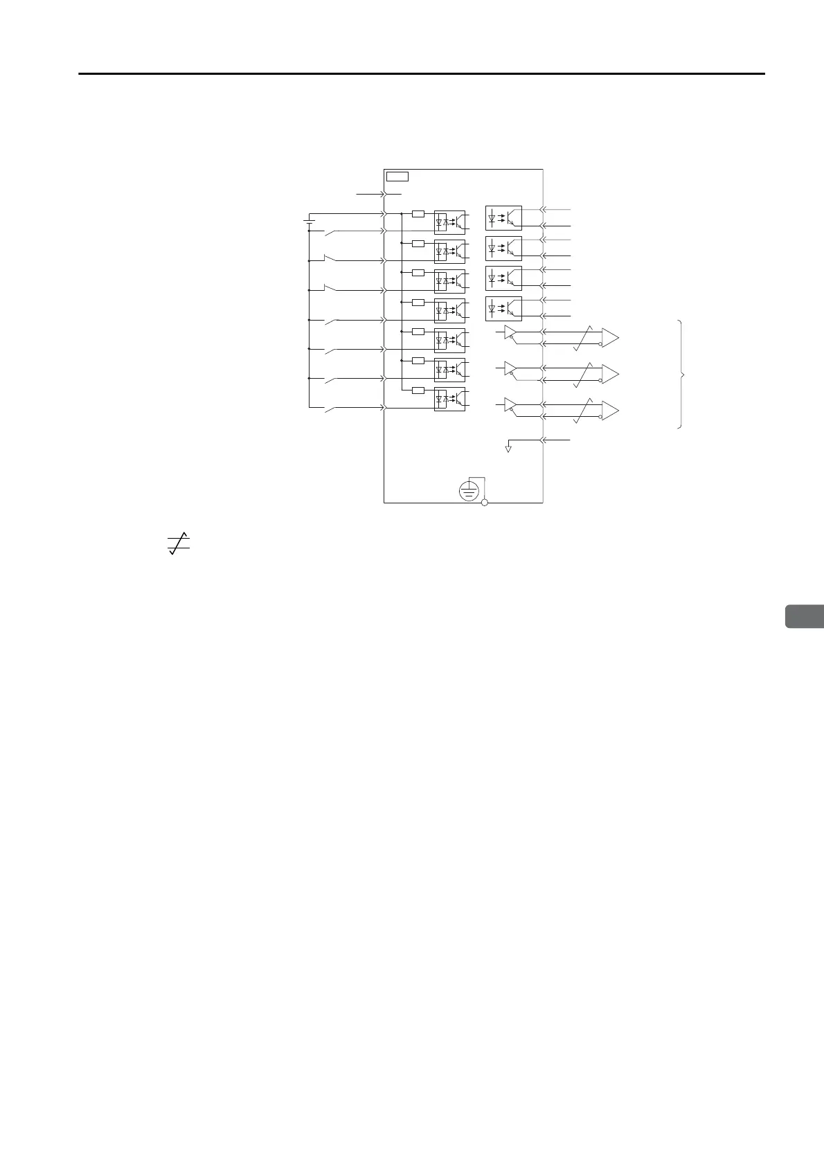
4.5 I/O Signal Connections
4.5.1 I/O Signal Connector (CN1)
4-37
4
Wiring and Connecting
Using a Linear Servomotor
*1. represents twisted-pair wires.
*2. The 24-VDC power supply is not provided by Yaskawa. Use a 24-VDC power supply with double insulation or
reinforced insulation.
*3. Always use line receivers to receive the output signals.
Note: If you use a 24-V brake, install a separate power supply for the 24-VDC power supply from other power sup-
plies, such as the one for the I/O signals of the CN1 connector.
If the power supply is shared, the I/O signals may malfunction.
Encoder Divided
Pulse Output,
Phase A
Encoder Divided
Pulse Output,
Phase B
Encoder Divided
Pulse Output,
Phase C
Applicable Line Receiver:
SN75ALS175 or MC3486
manufactured by Texas
Instruments or the equivalent
Photocoupler outputs
Max. allowable voltage: 30 VDC
Max. allowable current: 50 mA DC
SERVOPACK
FG
Connect shield to connector shell.
Frame ground
Connector
shell
CN1
TH
5
/SO1+ (/WARN+)
/SO1- (/WARN-)
/SO2+ (/BK+)
/SO2- (/BK-)
/SO3+ (/S-RDY+)
ALM+
ALM-
1
2
23
24
3
4
+24VIN+24 V
4.7 k
Ω
6
8
10
9
11
12
/S-ON
/ALM-RST
P-OT
N-OT
/DEC
/RGRT
13
7
/SO3- (/S-RDY-)
Forward Drive Prohibit Input
(prohibited when OFF)
Alarm Reset Input
Sequence input signal power supply input
Homing Deceleration Switch Input
(LS active when ON)
Registration Input
Servo ON Input
Reverse Drive Prohibit Input
(prohibited when OFF)
General-purpose sequence output 1
(Warning output: ON for error or warning)
General-purpose sequence output 2
(Brake output: ON to release brake)
General-purpose sequence output 3
(Servo Ready output: ON when /S-ON signal can be received)
Servo Alarm Output
(OFF for alarm)
25
26
16
SG
*2
PBO
PCO
/PBO
PAO
/PAO
/PCO
21
17
18
19
20
22
*3
*1
*3
*3
Overheat protection input

Table of Contents

Related product manuals