EasyManua.ls Logo

YASKAWA E-7S SERVOPACK SGD7S - Page 136

YASKAWA E-7S SERVOPACK SGD7S
671 pages
To Next Page IconTo Next Page
To Next Page IconTo Next Page
To Previous Page IconTo Previous Page
To Previous Page IconTo Previous Page
Loading...
4.5 I/O Signal Connections
4.5.1 I/O Signal Connector (CN1)
4-36
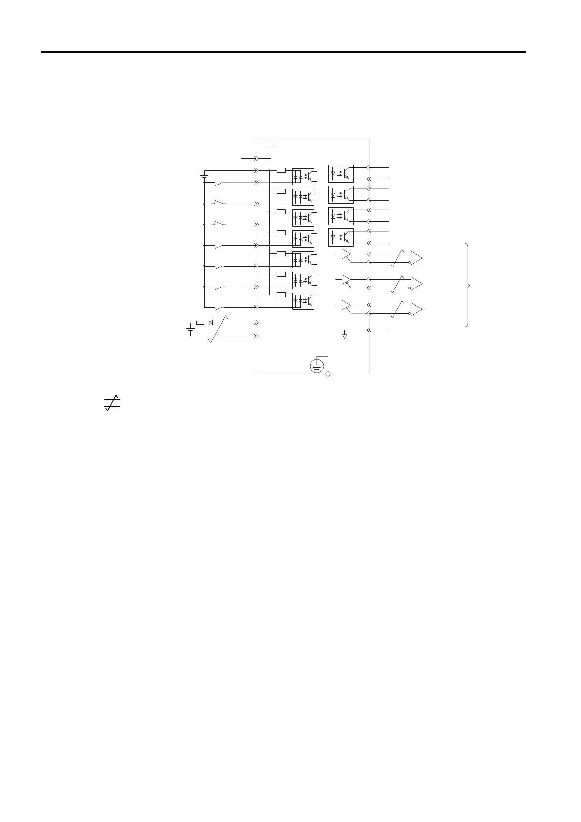
I/O Signal Wiring Examples
Using a Rotary Servomotor
*1. represents twisted-pair wires.
*2. Connect these when using an absolute encoder. If the Encoder Cable with a Battery Case is connected, do not
connect a backup battery.
*3. The 24-VDC power supply is not provided by Yaskawa. Use a 24-VDC power supply with double insulation or
reinforced insulation.
*4. Always use line receivers to receive the output signals.
Note: If you use a 24-V brake, install a separate power supply for the 24-VDC power supply from other power sup-
plies, such as the one for the I/O signals of the CN1 connector.
If the power supply is shared, the I/O signals may malfunction.
CN1
Overheat protection input
Sequence input signal power supply input
Battery for
absolute encoder
Backup battery*2
2.8 V to 4.5 V
Photocoupler outputs
Max. allowable voltage: 30 VDC
Max. allowable current: 50 mA DC
Encoder Divided
Pulse Output,
Phase A
Encoder Divided
Pulse Output,
Phase B
Encoder Divided
Pulse Output,
Phase C
Applicable Line Receiver:
SN75ALS175 or MC3486
manufactured by Texas
Instruments or the equivalent
SERVOPACK
FG
Connect shield to connector shell.
Frame ground
Connector
shell
/SO1+ (/WARN+)
/SO1- (/WARN-)
/SO2+ (/BK+)
/SO2- (/BK-)
/SO3+ (/S-RDY+)
ALM+
ALM-
1
2
23
24
3
4
+24VIN
+24 V
4.7 k
Ω
6
8
10
9
11
12
/S-ON
/ALM-RST
P-OT
N-OT
/DEC
/RGRT
BAT(+)
BAT (-)
13
14
15
7
/SO3- (/S-RDY-)
Forward Drive Prohibit Input
(prohibited when OFF)
Alarm Reset Input
Homing Deceleration Switch Input
(LS active when ON)
Registration Input
Servo ON Input
Reverse Drive Prohibit Input
(prohibited when OFF)
General-purpose sequence output 1
(Warning output: ON for error or warning)
General-purpose sequence output 2
(Brake output: ON to release brake)
General-purpose sequence output 3
(Servo Ready output: ON when /S-ON signal can be received)
Servo Alarm Output
(OFF for alarm)
25
26
16
SG
*1
*3
PBO
PCO
/PBO
PAO
/PAO
/PCO
21
17
18
19
20
22
*4
*4
*4
Signal ground
+
-
TH
5

Table of Contents

Related product manuals