EasyManua.ls Logo

Barco DP2K-36BLP - Page 42

Barco DP2K-36BLP
185 pages
Print Icon
To Next Page IconTo Next Page
To Next Page IconTo Next Page
To Previous Page IconTo Previous Page
To Previous Page IconTo Previous Page
Loading...
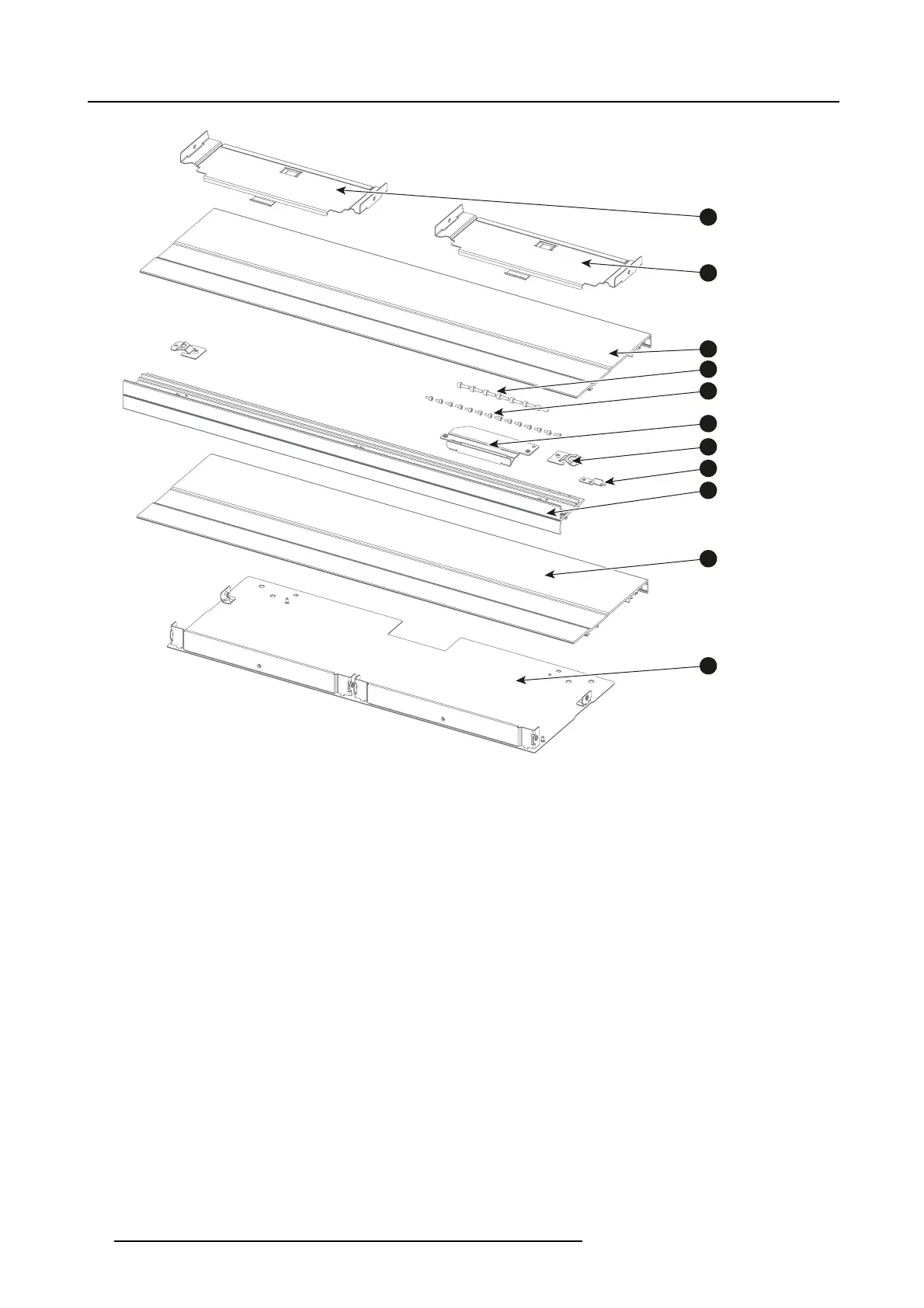
5. Physical installation top cooler
2
4
3
1
1
5
6
7
8
2
9
Image 5-2
This at pack contains the following parts:
1 Top plate
2
Side cover s
3
M4 Hex Screws
4M3HexScrews
5
Support for middle bracket
6Sidexatio n
7
Position plate
8 Middle b racket
9 Front plate
overview:
38
R5906753 DPXK BLP SERIES 20/11/2017

Table of Contents

Related product manuals