EasyManua.ls Logo

CUMMINS N14 - Page 256

CUMMINS N14
812 pages
Print Icon
To Next Page IconTo Next Page
To Next Page IconTo Next Page
To Previous Page IconTo Previous Page
To Previous Page IconTo Previous Page
Loading...
Remove the viscosity sensor fittings (1) and (2).
Remove and inspect the filter screens (3).
Replace damaged or plugged screens.
Remove the viscosity sensor fitting (1).
Inspect the injector orifice plug (3) for damage or restric-
tion.
Replace the injector plug (3) and gasket (4).
Use compressed air through each port to remove any
remaining debris.
Install the filter screens (3) and screen retainers (4) in the
viscosity sensor.
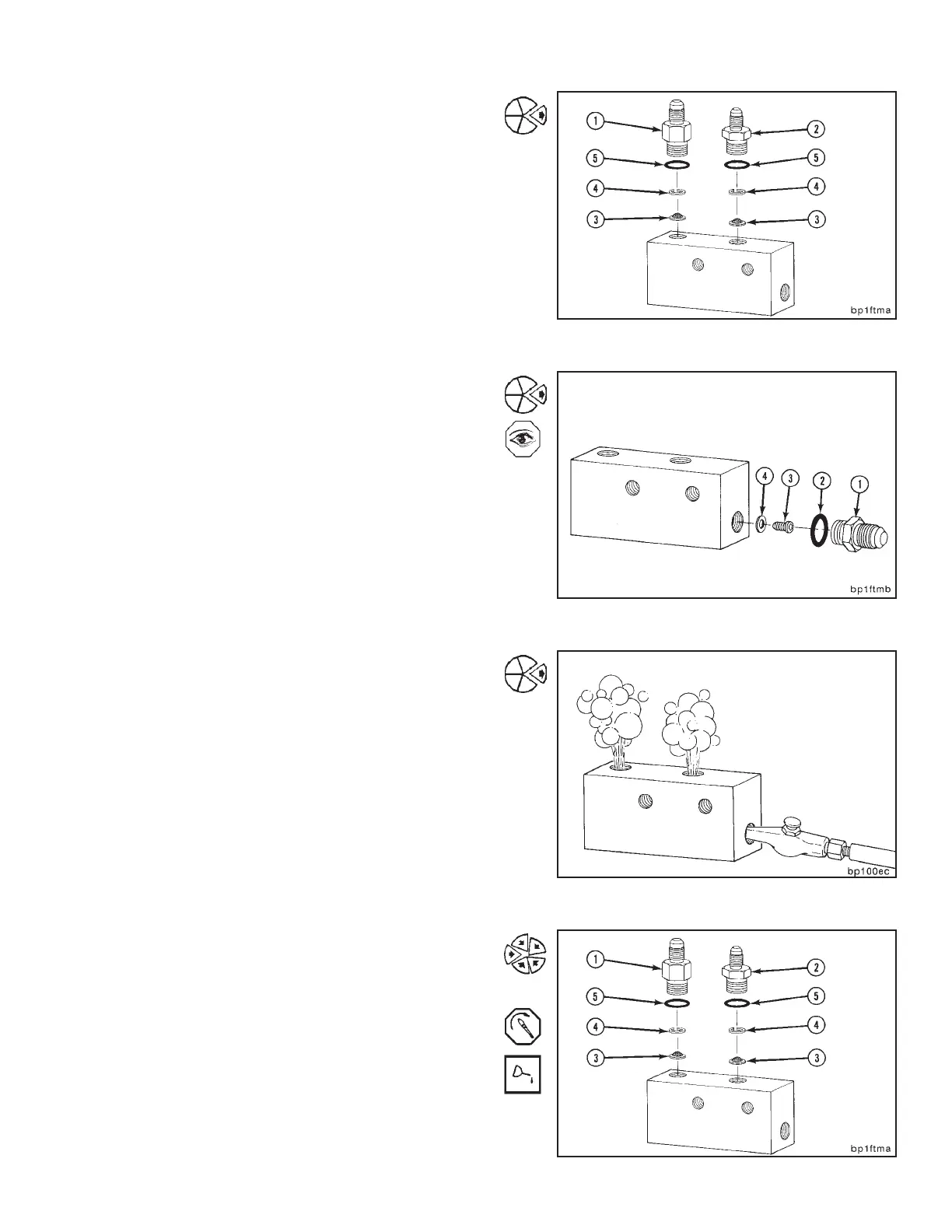
Install the fittings (1) and (2), with new o-rings (5), and
tighten.
Torque Value: (1) 24 N•m [18 ft-lb]
(2) 18 N•m [13 ft-lb]
NOTE: Lubricate the o-rings with vegetable oil.
Section 2 - Lubricating System Viscosity Sensor - STC Engines (2-18)
N14 Page 2-45

Table of Contents

Other manuals for CUMMINS N14

Related product manuals