EasyManua.ls Logo

Sel SEL-787 - Table 2.7 I;O (3 DI;4 DO;1 AO) Card Terminal Allocation; Table 2.8 RTD (10 RTD) Card Terminal Allocation

Sel SEL-787
612 pages
Print Icon
To Next Page IconTo Next Page
To Next Page IconTo Next Page
To Previous Page IconTo Previous Page
To Previous Page IconTo Previous Page
Loading...
2.8
SEL-787 Relay Instruction Manual Date Code 20150130
Installation
I/O Configuration
I/O Input Card
(3 DI/4 DO/1 AO)
Supported in one nonbase unit slot (Slot C, D, or E), this card has three digital
inputs, four digital outputs, and one analog output. Table 2.7 shows the
terminal allocation.
RTD Card (10 RTD)
Supported in Slot D only, this card has 10 RTD inputs. Table 2.8 shows the
terminal allocation.
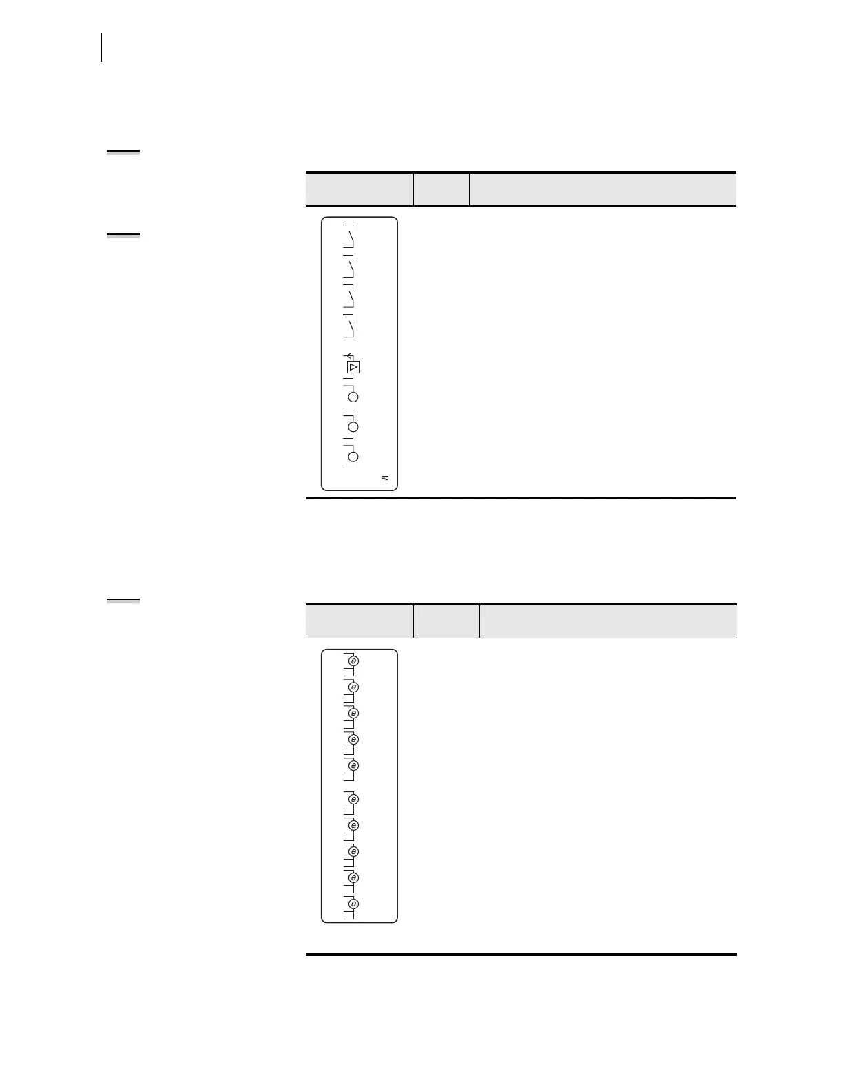
Table 2.7 I/O (3 DI/4 DO/1 AO) Card Terminal Allocation
Side-Panel
Connections Label
Term i nal
Number
Description
a
a
x=3, 4, or 5 (for example, OUT401, OUT402, etc., if the card was installed in Slot D).
01, 02 OUTx01, driven by OUTx01 SELOGIC
control equation
03, 04 OUTx02, driven by OUTx02 SEL
OGIC
control equation
05, 06 OUTx03, driven by OUTx03 SEL
OGIC
control equation
07, 08 OUTx04, driven by OUTx04 SEL
OGIC
control equation
09, 10 AOx01, Analog Output Number 1
11, 12 INx01, Drives INx01 element
13, 14 INx02, Drives INx02 element
15, 16 INx03, Drives INx03 element
NOTE: All digital input and digital
output (including high-current, high-
speed hybrid) connections are
polarity neutral.
NOTE: Analog output is self powered
and has an isolated power supply.
INPUTS:
AO_0 1
IN_0 1
IN_02
IN_03
OUT_0 1
OUT_02
OUT_03
OUT_04
08
05
06
02
04
09
03
10
11
12
13
14
15
16
07
01
+
Table 2.8 RTD (10 RTD) Card Terminal Allocation
Side-Panel
Connections Label
Term i nal
Number
Description
01 RTD01 (+)
02 RTD01 (-)
03 RTD01 Comp/Shield
04 RTD02 (+)
05 RTD02 (-)
06 RTD02 Comp/Shield
07 RTD03 (+)
08 RTD03 (-)
09 RTD03 Comp/Shield
28 RTD10 (+)
29 RTD10 (-)
30 RTD10 Comp/Shield
NOTE: All Comp/Shield terminals are
internally connected to relay chassis
and ground.
08
05
06
04
09
20
21
22
23
24
25
26
27
28
29
30
10
11
12
13
14
15
16
17
18
19
07
02
03
01
RTD 1
COMP/ SHLD
+
RTD2
COMP/ SHLD
+
RTD3
COMP/ SHLD
+
RTD4
COMP/ SHLD
+
RTD5
COMP/ SHLD
+
RTD6
COMP/ SHLD
+
RTD7
COMP/ SHLD
+
RTD8
COMP/ SHLD
+
RTD9
COMP/ SHLD
+
RTD 1 0
COMP/ SHLD
+

Table of Contents

Related product manuals