EasyManua.ls Logo

Yamaha F115A - Page 364

Yamaha F115A
709 pages
Print Icon
To Next Page IconTo Next Page
To Next Page IconTo Next Page
To Previous Page IconTo Previous Page
To Previous Page IconTo Previous Page
Loading...
6-32
E
LOWR
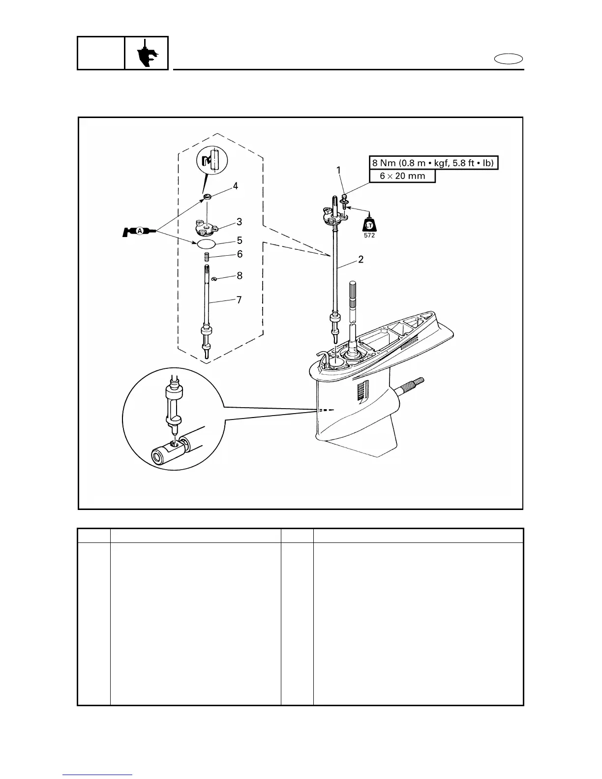
SHIFT ROD ASSEMBLY
(COUNTER ROTATION MODELS)
SHIFT ROD ASSEMBLY (COUNTER ROTATION MODELS)
6
REMOVING/INSTALLING THE SHIFT ROD ASSEMBLY 6
Order Job/Part Q’ty Remarks
Impeller plate Refer to “WATER PUMP (COUNTER
ROTATION MODELS)” on page 6-29.
1 Bolt 3 (with washer)
2 Shift rod assembly 1
3 Oil seal housing 1
4 Oil seal 1
5 O-ring 1 3.1 × 49.4 mm
6 Spring 1
7 Shift rod 1
8 Circlip 1
For installation, reverse the removal
procedure.
6450

Table of Contents