EasyManua.ls Logo

YASKAWA JEPMC-MP2300-Y Series - Page 90

YASKAWA JEPMC-MP2300-Y Series
598 pages
Print Icon
To Next Page IconTo Next Page
To Next Page IconTo Next Page
To Previous Page IconTo Previous Page
To Previous Page IconTo Previous Page
Loading...
2
System Startup and Sample Programs
2.2.2
Operation Check 2: Position Control
2-46
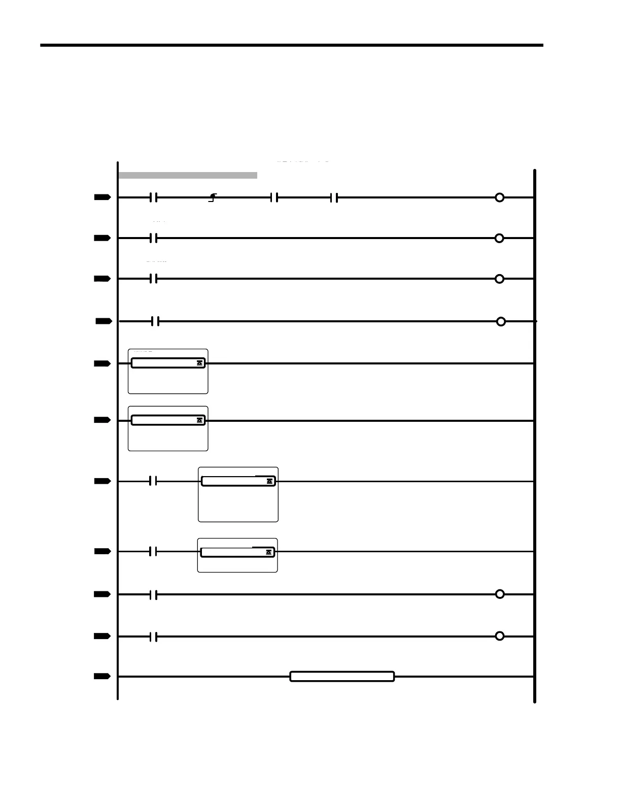
( 5 ) Sample Program Details
[ a ] H04 Drawing
The H04 child drawing contains the ladder program for managing and controlling MPM motion pro-
grams.
########## 位置決め動作メイン処理  ##########
########## モーションプログラム起動シーケンス  ##########
0000
NL-1
0000
動作開始
DB000010
WORK
DB000050
一時停止要求
DB000211
解除要求
DB000212
0007
NL-1
0002
0011
NL-1
0004
0012
NL-1
0005
0013
NL-1
0006
0015
NL-1
0007
0017
NL-1
0008
0019
NL-1
0009
STORE
MPM番号
Source DW00030
Dest DW00025
MSEE
MPM***実行
Program DW00025
Dest DA00020
0005
NL-1
0001
開始要求
DB000210
一時停止
DB000011
1軸目モーションコマンド0
MB300010
2軸目モーションコマンド0
MB300018
動作解除
DB000012
$ON COIL
SB000004
EXPRESSION
移動データ設定
ML30100= DL10;
ML30102= DL12;
ML30110= DL14;
ML30112= DL16;
ML30114= 3000000;
MPM運転中
DB000200
MPMアラーム発生中
DB000208
アラームリセットPB
MB300001
0009
NL-1
0003
アラームリセット要求
DB000215
0021
NL-1
0010
STORE
MPM補間オーバライド
Source 10000
Dest DW00022
$ON COIL
SB000004
MPM運転中
MB300020
MPMアラーム発生中
MB300028
END
Start
MPM running
Positioning Main Processing
Axis 1 Motion Command 0
Axis 2 Motion Command 0
Hold
Start Request
Abort
MPM number
Hold Request
Abort request
Alarm reset PB
Alarm reset request
MPM Interpolation overdrive
Travel data setting
MPM*** execution
MPM running
MPM alarm
MPM alarm
##########Motion Program Startup Sequence##########

Table of Contents

Related product manuals