EasyManua.ls Logo

HP 8753E - Page 542

HP 8753E
612 pages
Print Icon
To Next Page IconTo Next Page
To Next Page IconTo Next Page
To Previous Page IconTo Previous Page
To Previous Page IconTo Previous Page
Loading...
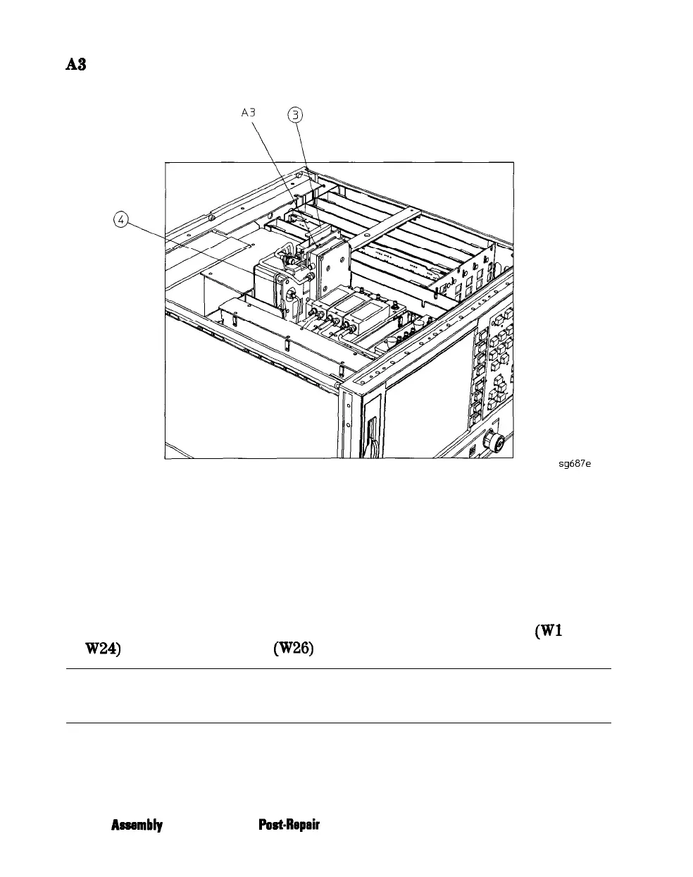
A3
Source Assembly
Replacement
1. Check the connector pins on the motherboard before reinstallation.
2. Slide the edges of the sheet metal partition (item 4) into the guides at the
sides of the source compartment. Press down on the module to ensure that it
is well seated in the motherboard connector.
3. Push down the retention clips Reconnect the two semirigid cables
(Wl
and
W24)
and one flexible cable
(W26)
to the source assembly.
Note
When reconnecting semirigid cables, it is recommended that the
connections be torqued to 10 in-lb.
4. Reinstall the source bracket.
5. Reconnect the flexible cable to the B sampler.
14-24
Assembty
Replacement and PostRepair Procedures

Table of Contents

Other manuals for HP 8753E

Related product manuals