EasyManua.ls Logo

Intel 8253 - Page 100

Intel 8253
773 pages
Print Icon
To Next Page IconTo Next Page
To Next Page IconTo Next Page
To Previous Page IconTo Previous Page
To Previous Page IconTo Previous Page
Loading...
80C187
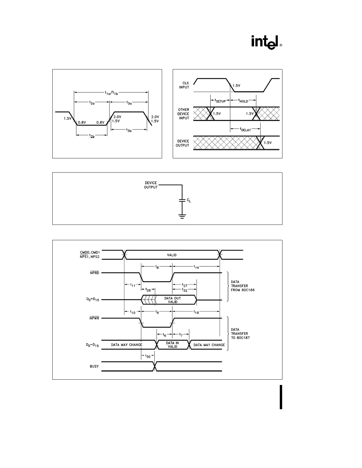
AC DRIVE AND MEASUREMENT
POINTSÐCLK INPUT
2706409
AC SETUP, HOLD, AND DELAY TIME
MEASUREMENTSÐGENERAL
27064010
AC TEST LOADING ON OUTPUTS
27064011
DATA TRANSFER TIMING (INITIATED BY CPU)
27064012
24

Table of Contents