EasyManua.ls Logo

Intel 8253 - Hardware Interface; Signal Description

Intel 8253
773 pages
Print Icon
To Next Page IconTo Next Page
To Next Page IconTo Next Page
To Previous Page IconTo Previous Page
To Previous Page IconTo Previous Page
Loading...
80C187
HARDWARE INTERFACE
In the following description of hardware interface, an
overbar above a signal name indicates that the ac-
tive or asserted state occurs when the signal is at a
low voltage. When no overbar is present above the
signal name, the signal is asserted when at the high
voltage level.
Signal Description
In the following signal descriptions, the 80C187 pins
are grouped by function as follows:
1. Execution ControlÐ CLK, CKM, RESET
2. NPX HandshakeÐ PEREQ, BUSY, ERROR
3. Bus Interface PinsÐ D
15
–D
0
, NPWR, NPRD
4. Chip/Port SelectÐ NPS1, NPS2, CMD0, CMD1
5. Power SuppliesÐ V
CC
,V
SS
Table 7 lists every pin by its identifier, gives a brief
description of its function, and lists some of its char-
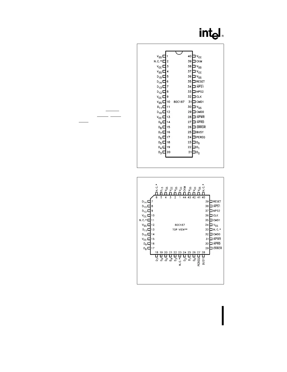
acteristics. Figure 7 shows the locations of pins on
the CERDIP package, while Figure 8 shows the loca-
tions of pins on the PLCC package. Table 8 helps to
locate pin identifiers in Figures 7 and 8.
Clock (CLK)
This input provides the basic timing for internal oper-
ation. This pin does not require MOS-level input; it
will operate at either TTL or MOS levels up to the
maximum allowed frequency. A minimum frequency
must be provided to keep the internal logic properly
functioning. Depending on the signal on CKM, the
signal on CLK can be divided by two to produce the
internal clock signal (in which case CLK may be up
to 32 MHz in frequency), or can be used directly (in
which case CLK may be up to 12.5 MHz).
Clocking Mode (CKM)
This pin is a strapping option. When it is strapped to
V
CC
(HIGH), the CLK input is used directly; when
strapped to V
SS
(LOW), the CLK input is divided by
two to produce the internal clock signal. During the
RESET sequence, this input must be stable at least
four internal clock cycles (i.e. CLK clocks when CKM
is HIGH; 2
c
CLK clocks when CKM is LOW) before
RESET goes LOW.
2706405
*N.C.
e
Pin Not Connected
Figure 7. CERDIP Pin Configuration
2706406
*N.C.
e
Pin Not Connected
**‘‘Top View’’ means as the package is seen from the
component side of the board.
Figure 8. PLCC Pin Configuration
14

Table of Contents