EasyManua.ls Logo

Intel 8253 - Page 102

Intel 8253
773 pages
Print Icon
To Next Page IconTo Next Page
To Next Page IconTo Next Page
To Previous Page IconTo Previous Page
To Previous Page IconTo Previous Page
Loading...
80C187
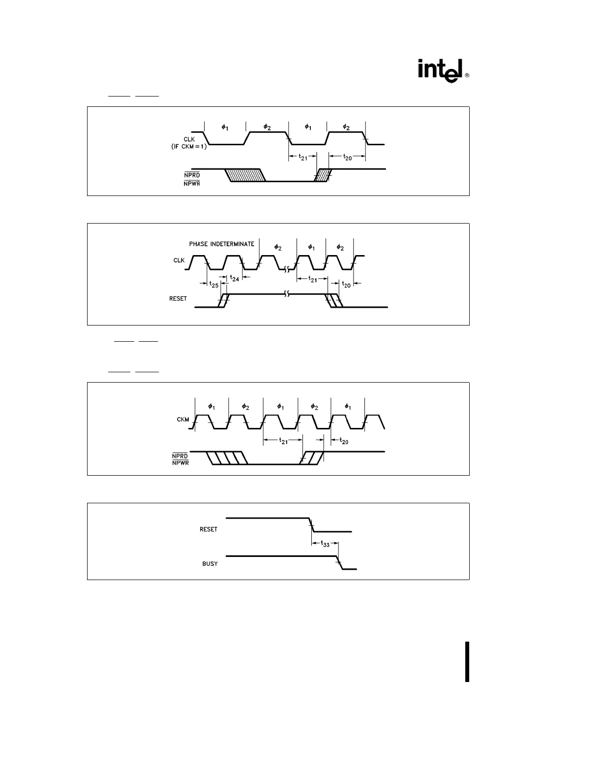
CLK, NPRD, NPWR TIMING (CKM
e
1)
27064016
CLK, RESET TIMING (CKM
e
0)
27064017
RESET must meet timing shown to guarantee known phase of internal divide by 2 circuits.
NOTE:
RESET, NPWR
, NPRD inputs are asynchronous to CLK. Timing requirements are given for testing purposes only, to assure
recognition at a specific CLK edge.
CLK, NPRD, NPWR TIMING (CKM
e
0)
27064018
RESET, BUSY TIMING
27064019
26

Table of Contents