EasyManua.ls Logo

Ricoh D131 - Other Adf Sensors

Ricoh D131
1536 pages
Print Icon
To Next Page IconTo Next Page
To Next Page IconTo Next Page
To Previous Page IconTo Previous Page
To Previous Page IconTo Previous Page
Loading...
ADF
SM 4-145 D131/D132/D133
Replacement
and
Adjustment
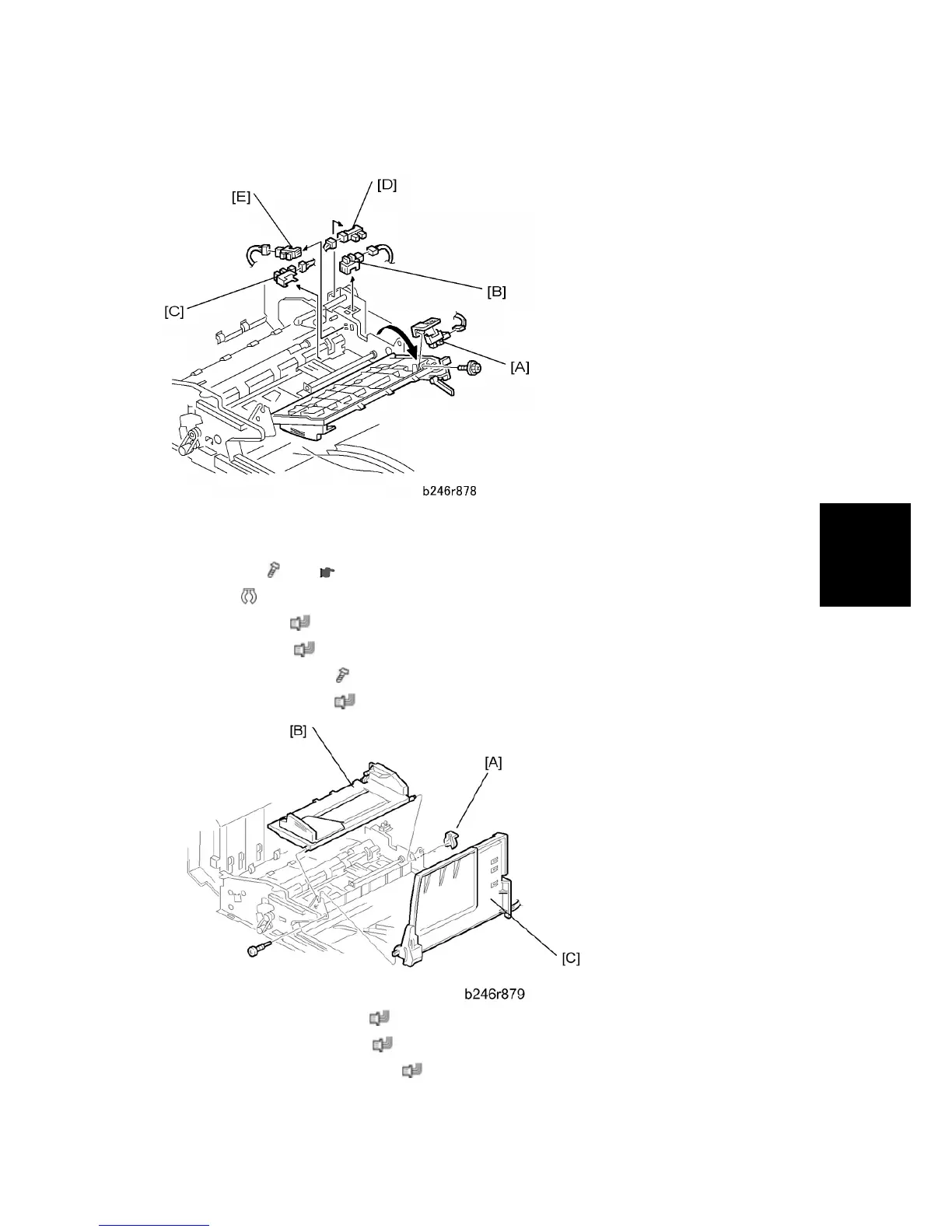
4.13.10 OTHER ADF SENSORS
1. Open the feed cover.
2. Open the front door
3. Rear covers (
x 4) p.4-11
4. Clips [A] (
x 1)
5. Original tray [B] (
x 1)
6. Bottom plate [C] (
x 1)
7. Original set sensor [D] (
x 1)
8. Feed cover sensor [E] (
x 1)
9. Bottom plate HP sensor [A] (
x 1)
10. Pick-up roller HP sensor [B] (
x 1)
11. Bottom plate position sensor [C] (
x 1)

Table of Contents

Related product manuals