EasyManua.ls Logo

Ricoh D131 - Scanner Wire Reinstallation and Scanner Position Adjustment

Ricoh D131
1536 pages
To Next Page IconTo Next Page
To Next Page IconTo Next Page
To Previous Page IconTo Previous Page
To Previous Page IconTo Previous Page
Loading...
Scanner
D131/D132/D133 4-26 SM
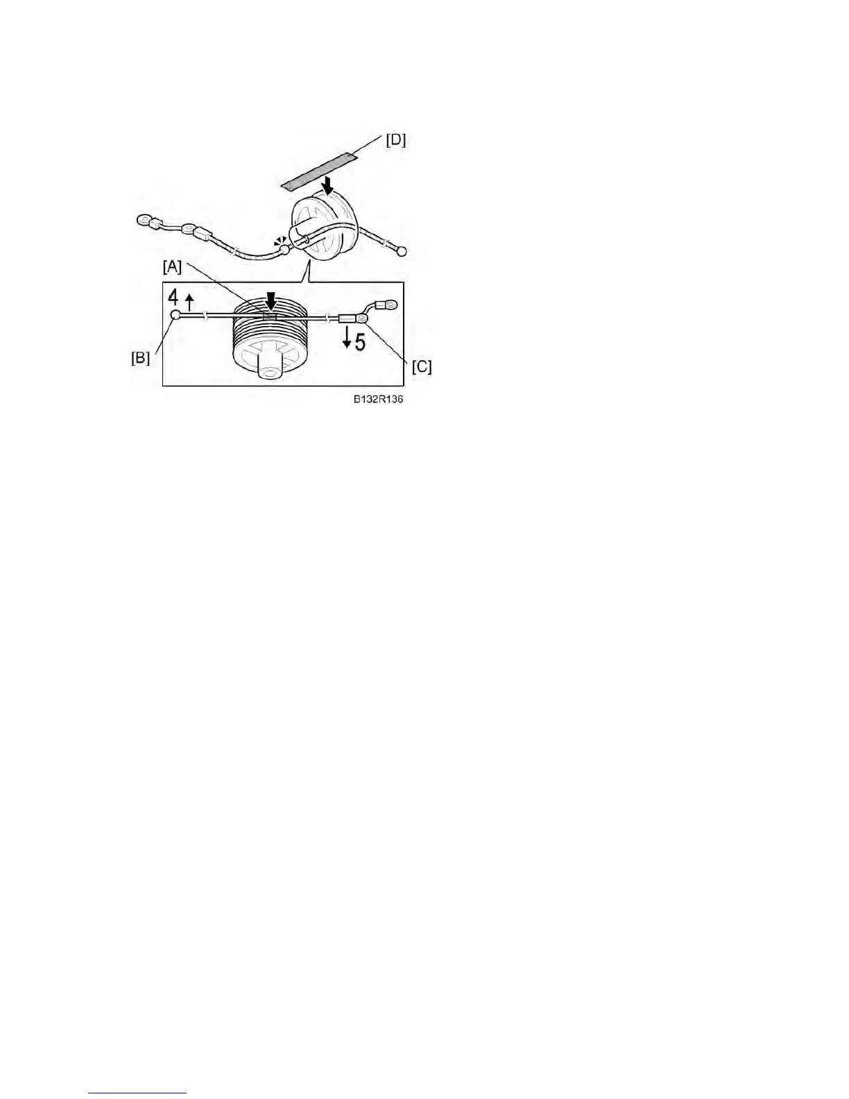
Scanner Wire Reinstallation and Scanner Position Adjustment
1. Place the beads [A] on the middle of the wire in the openings in the pulley.
2. Wind the ball end of the wire [B] 4 times.
3. Wind the other end of the wire [C] 5 times.
4. Attach tape [D] across the pulley to temporarily hold the wires in place.

Table of Contents

Related product manuals