EasyManua.ls Logo

Yamaha F115A - Page 336

Yamaha F115A
709 pages
Print Icon
To Next Page IconTo Next Page
To Next Page IconTo Next Page
To Previous Page IconTo Previous Page
To Previous Page IconTo Previous Page
Loading...
6-18
E
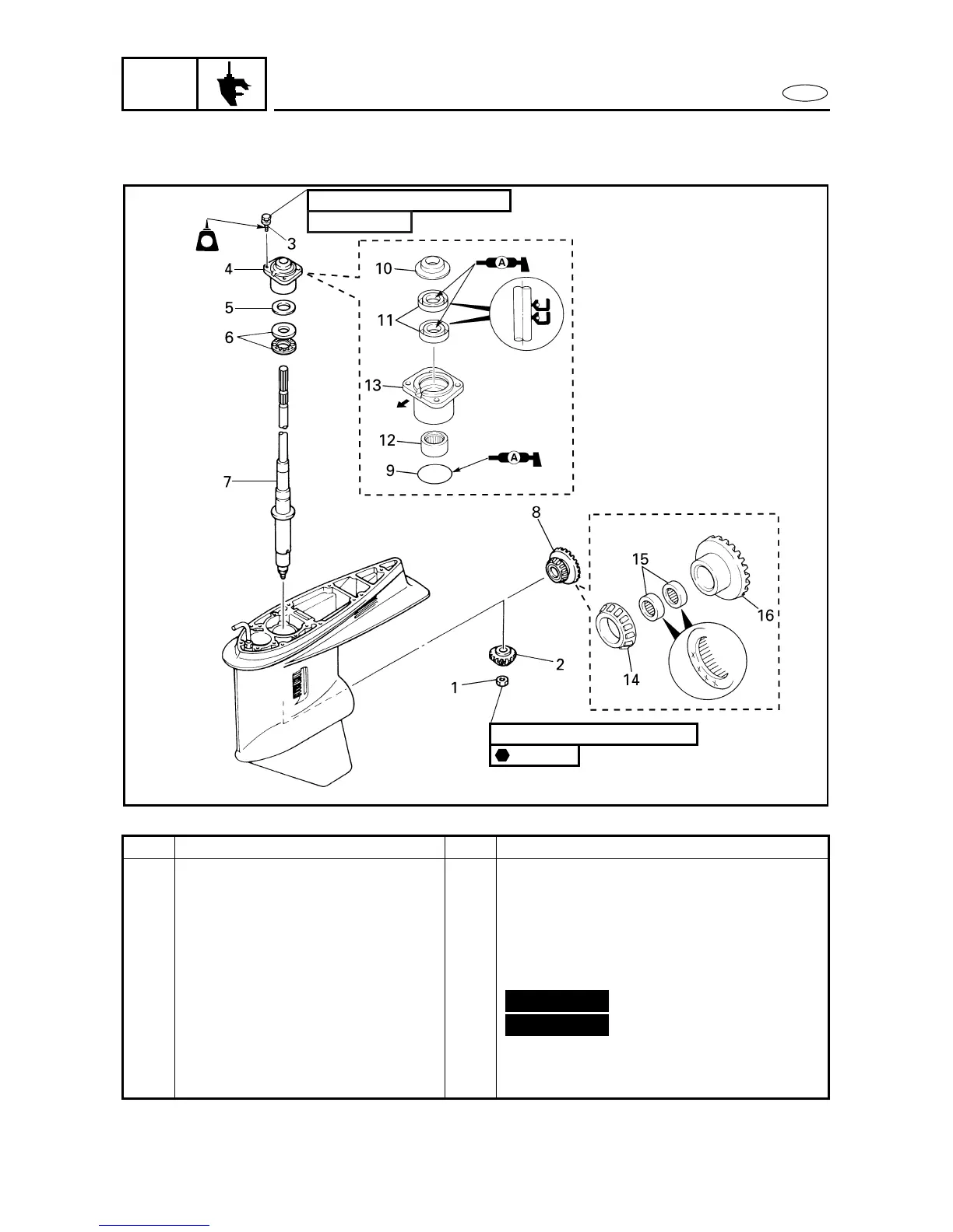
LOWR
DRIVE SHAFT (REGULAR ROTATION MODELS)
6
6
Order Job/Part Q’ty Remarks
8 Forward gear assembly 1
9 O-ring 1
10 Oil seal cover 1
11 Oil seal 2
12 Needle bearing 1
13 Drive shaft housing 1
14 Tapered roller bearing 1
15 Needle bearing 1
16 Forward gear 1
For installation, reverse the removal
procedure.
93 Nm (9.3 m
kgf, 67 ft
Ib)
: 22 mm
18 Nm (1.8 m
kgf, 13 ft
Ib)
8 × 25 mm
LTLT
LT
572
6240
Not reusable
Not reusable

Table of Contents

Other manuals for Yamaha F115A

Related product manuals