EasyManua.ls Logo

Europlex 3GS - Page 29

Default Icon
386 pages
Print Icon
To Next Page IconTo Next Page
To Next Page IconTo Next Page
To Previous Page IconTo Previous Page
To Previous Page IconTo Previous Page
Loading...
Issue 4.5 August 2005 Controller 3-5
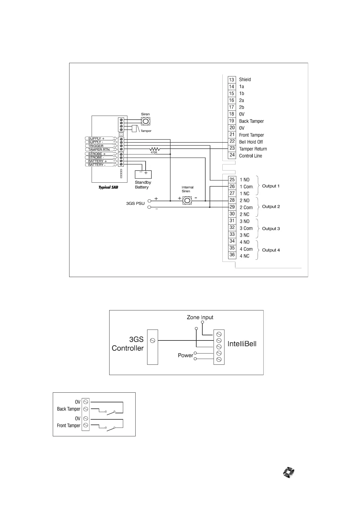
These connections are:
Bell Hold Off (BHO) and Tamper Return (TR) These are used for connection of a self activating bell, as shown
in diagram.
Control Line (CNTL) This is used for connection to Europlex peripheral devices, such as the IntelliBell and the
DM1200 – see the following example wiring diagram.
Tampers

Table of Contents

Other manuals for Europlex 3GS

Related product manuals