EasyManua.ls Logo

HP 8753E - Page 183

HP 8753E
612 pages
Print Icon
To Next Page IconTo Next Page
To Next Page IconTo Next Page
To Previous Page IconTo Previous Page
To Previous Page IconTo Previous Page
Loading...
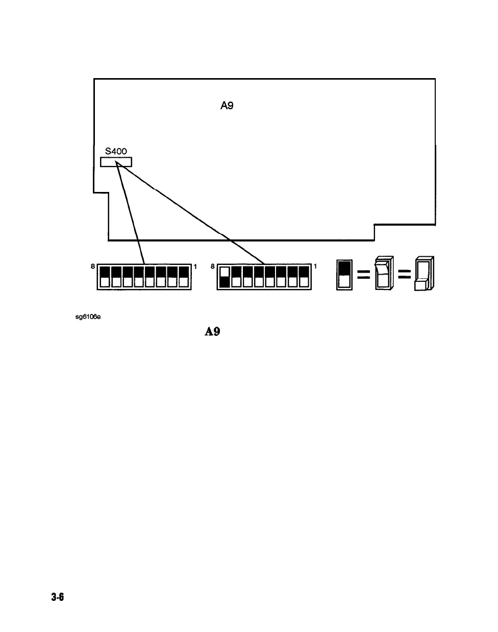
A9
CPU Assembly
Normal Mode
Alter Mode
Rocker Slide
sga
me
Figure 3-1.
A9
Correction Constants Switch
8. Reconnect the power line cord and switch on the instrument.
3-6 Adjustments and Correction Constants

Table of Contents

Other manuals for HP 8753E

Related product manuals