EasyManua.ls Logo

HP 8753E - Page 232

HP 8753E
612 pages
Print Icon
To Next Page IconTo Next Page
To Next Page IconTo Next Page
To Previous Page IconTo Previous Page
To Previous Page IconTo Previous Page
Loading...
5Ofi,
COAX,
BNI.
HP
8753E
NETWORK
ANALYZER
WITH OPTION
075
1
EXT
REF
INPUT
PORT1
I
PORT2
I
NETWORK
ANALYZER
WITH OPTION
075
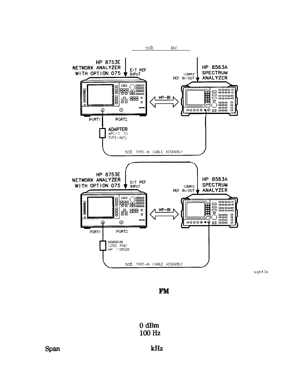
Figure 3-22.
Fractional-N Spur Avoidance and
FM
Sideband Adjustment Setup
3. Set the spectrum analyzer measurement parameters as follows:
Reference Level
OdBm
Resolution Bandwidth
lOOI%
Center Frequency
676.145105 MHz
Spa
2.5
kHz
Adjustments and Correction Constants
3-55

Table of Contents

Other manuals for HP 8753E

Related product manuals