EasyManua.ls Logo

HP 8753E - Page 233

HP 8753E
612 pages
Print Icon
To Next Page IconTo Next Page
To Next Page IconTo Next Page
To Previous Page IconTo Previous Page
To Previous Page IconTo Previous Page
Loading...
4. On the HP 8753E, press
LPreset]
(i&)
IF-
l&J
w
@
m
{&&!“I&Q..
.....
. . .
.
s
..
..T
.:..:
T
::....
.
...
.........
. . . . L...
(pzLmiqm.
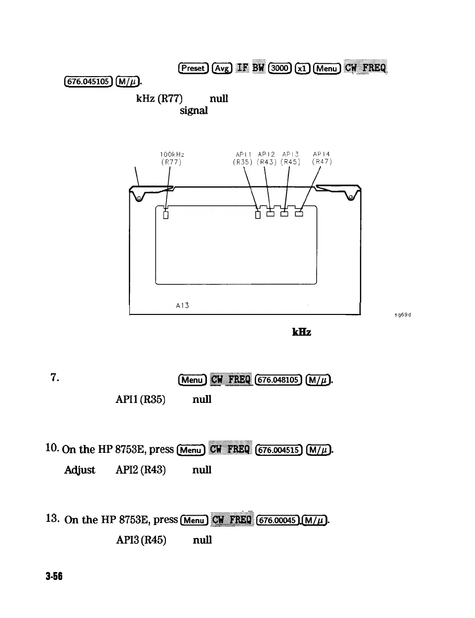
5. Adjust the 100
kHz
(R77)
for a
null
(
minimum amplitude) on the spectrum
analyzer. Theminimum
signal
may, or may not, drop down into the noise
floor.
1OOkHr
API1
API2
API3
API4
ORANGE
(R77)
(R35j
(R43j
(R45)
CR471
Al3
Fractional-N Analog Assembly
Figure 3-23. Location of API and 100
kHz
Adjustments
6. On the spectrum analyzer, set the center frequency for 676.051105 MHz.
7.
On the HP 8753e, press
m
~~~~~~~
@ZiZiiZ)
m.
-
.._....._........__....
8. Adjust the
API1
(R35)
for a null (minimum amplitude) on the spectrum
analyzer.
9. On the spectrum analyzer, set the center frequency for 676.007515 MHz.
1o.
on
the
HP
8753E,
press
m
~~,~~
‘-,
ms
11.
Adjust
the
API2
(R43)
for a
null
(minimum amplitude) on the spectrum
analyzer.
12. On the spectrum analyzer, set the center frequency for 676.003450 MHz.
_
_
13.
()n
the
HP
87533,
press
CMenu)
~~~~~;
(676.ooo45)
(MIII).
_
_
i
.,.........,.,.,.,....i
_
.~
. . .
..__..
14. Adjust the
API3
(R45)
for a
nuII
(minimum amplitude) on the spectrum
analyzer.
3-56
Adjustments and Correction Constants

Table of Contents

Other manuals for HP 8753E

Related product manuals