EasyManua.ls Logo

Intel 8253 - Page 158

Intel 8253
773 pages
Print Icon
To Next Page IconTo Next Page
To Next Page IconTo Next Page
To Previous Page IconTo Previous Page
To Previous Page IconTo Previous Page
Loading...
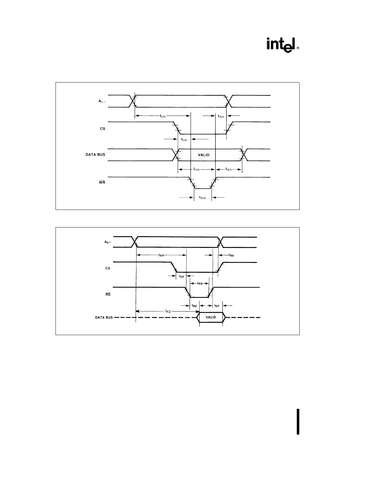
8254
WAVEFORMS
WRITE
23116413
READ
23116414
20

Table of Contents