EasyManua.ls Logo

Intel 8253 - Page 744

Intel 8253
773 pages
Print Icon
To Next Page IconTo Next Page
To Next Page IconTo Next Page
To Previous Page IconTo Previous Page
To Previous Page IconTo Previous Page
Loading...
mapped I/O also uses the existing address and data buses. I/O ports in this scheme occupy part of
standard memory address space. A block of memory addresses is reserved for I/O; usually this
block is in the highest part of the address space. The conventional memory chips installed in the
computer do not include these addresses.
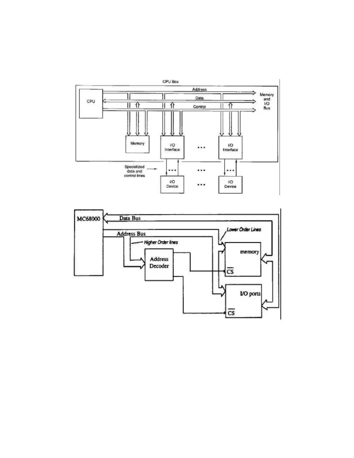
Memory-Mapped I/O (from Wakerly)
Memory-Mapped I/O on the MC68000 (contrast with Intel) (from Orejel)
Advantages of memory mapped I/O:
1. No special opcodes are necessary, making instruction set design simpler (the fewer the
opcode bit patterns, the easier it is to avoid ambiguity in these patterns).
2. No special circuitry is necessary. That is, there is no need for a dedicated bus. This means
it is cheaper.
3. There are more addressing modes available for accessing I/O ports.
Advantages of isolated I/O:
1. I/O ports occupy none of the memory address space. This provides more memory
addresses for user programs.

Table of Contents